Kontakt     zur Hauptseite      zurück / retour
                / indietro / atras / back

Velofreundliche Tramstationen / fahrradfreundliche Strassenbahnhaltestellen: Fallbeispiele für den Umbau

Velofreundlich / fahrradfreundlich - rollstuhlfreundlich - fussgängerfreundlich - Autoverkehr verlangsamend -
mit minimiertem Unfallrisiko


Umbau Tramstation mit
                Velowegen hinten durch

Beispiele aus Basel, wie man die Veloqualität zum Steigen oder zum Sinken bringt

von Michael Palomino 2003 / 2006

Teilen:

Facebook






Inhalt

Kommentar zum "Stiefkind" Tramstationen

Einige technische Hinweise zur Tramhaltestellengestaltung

1.Teil: Tramstationen im Mischverkehr mit motorisiertem Verkehr

1. Umbau: Tramhaltestelle mit Zickzacklinie: Velos fahren auf erhöhten Velowegen auf der Zickzacklinie vor den wartenden Trampassagieren hindurch - Anwendung bei hoher Anzahl Fussgänger oder bei schmalen Trottoirs

2. Umbau: Tramhaltestelle mit Veloweg hinter dem Tramhäuschen hindurch - Anwendung bei niedriger bis mittlerer Anzahl Fussgänger oder bei breiten Trottoirs mit hoher Anzahl Fussgänger

3. Untauglicher Umbau der Tramhaltestelle Barfüsserplatz der Tramlinie 3, Basel: Velos werden durch die Schienen gejagt, bei Gefälle / Steigung

4. Untauglicher Umbau der Tramhaltestelle Solothurnerstrasse, Basel: Velos werden durch die Schienen gejagt

5. Untauglicher Umbau: Tramhaltestelle Tellplatz, Basel: Velos / Fahrräder werden zwischen die Tramschienen gejagt mit Weichen

6. Umbau einer Inseltramhaltestelle: Velos / Fahrräder auf Veloweg / Fahrradweg hinter den Tramhäuschen hindurch

7. Vorschlag eines Umbaus der Tramhaltestelle Brombacherstrasse: Teillösung I.

8. Umbau einer Inseltramhaltestelle zu einer Inseltramhaltestelle mit Veloweg hinten durch in 8cm hohen Kanten: Teillösung II.

9. Umbau einer Inseltramhaltestelle mit viel Tramverkehr: Ergänzung mit erhöhten Velowegen und erhöhten Fussgängerstreifen

10. Untauglicher Umbau einer Inseltramhaltestelle zu einer Tramhaltestelle mit angehobener Auto- und Velofahrbahn mit Lichtsignalanlage (LSA)

11. Untauglicher Umbau: Inseltramhaltestelle wird einseitig zu Kaphaltestelle - die Velos werden in die Tramschienen gejagt

12. Untauglicher Umbau: Einseitiger Umbau einer Inseltramhaltestelle in eine Kaphaltestelle in einer Kurve - Velos in die Tramschienen gejagt


2.Teil: Tramstationen im Umbau zu einer Fussgängerzone

F1. Umbau einer Tramhaltestelle in einer Strasse, die Fussgängerzone wird: Trams nach links verschoben, alles Trottoirniveau, Zweirichtungsveloweg hinter der Tramstation hindurch (in Deutschland Realität)

F2. Umbau einer Tramhaltestelle in einer Strasse, die Fussgängerzone wird: Keine Trottoirs, angehobene Haltestelle, Zweirichtungsveloweg hinter der Tramstation hindurch (Vorschlag Palomino)

F3. Umbau einer Tramhaltestelle in einer Strasse, die Fussgängerzone wird: Alles Trottoir, zwei Velowege hinter den zwei Tramhäuschen hinten durch (in Deutschland Realität)

F3+. Umbau einer Tramhaltestelle in einer Strasse, die Fussgängerzone wird: Alles Trottoir, Anhebung des Passagierwarteraums und Absenkung des Tramniveaus gleichzeitig, zwei Velowege hinter den zwei Tramhäuschen hinten durch (Vorschlag Palomino)

F4. Umbau einer Tramhaltestelle in einer Strasse, die Fussgängerzone wird: Tramtrasse im Zentrum, Velos mit erhöhten Velowegen vor den Trampassagieren hindurch (Vorschlag Palomino)

F5. Untauglicher Umbau einer Tramhaltestelle in einer Strasse, die Fussgängerzone wird: Tramtrasse im Zentrum, Velos werden in die Tramschienen gejagt, Clarastrasse, Basel


Kommentar zum "Stiefkind" Tramstationen

   
Plan des öffentlichen Verkehrs Basel
                              mit Einzeichnung der velofeindlichen
                              Tramstationen (2006)
vergrössernPlan des öffentlichen Verkehrs Basel mit Einzeichnung der velofeindlichen Tramstationen (2006).

VelofahrerInnen sollen mit Kleinkind im Kindersitz oder mit kostbarer Ladung oder mit Anhänger sicher durch den Stadtverkehr gelangen. Tramhaltestellen sind hierfür velofreundlich zu gestalten, so dass sie auch für Kinder, die Velo fahren, keine Gefahr  darstellen, ansonsten die Eltern den Kindern das Velofahren nämlich verbieten und die Anzahl Erwachsener stetig zunimmt, die nie Velo gefahren sind. Auch ein Velofahrer mit einer Trommel auf dem Rücken, oder eine Frau mit einer Geige auf dem Rücken, soll in einer Stadt sicher Velo fahren können. Gleichzeitig sind für Trampassagiere hohe Sicherheitsstandards festzusetzen. Auch RollstuhlfahrerInnen sollen das Tram benutzen können.

Es zeigte sich bei der Arbeit, dass das Thema Tramhaltestelle ein "Stiefkind" der Strassenplanung darstellt. In der Schweizer Norm SN 640 064 ("Führung des leichten Zweiradverkehrs auf Strassen mit öffentlichem Verkehr") des Vereins schweizerischer Strassenfachleute VSS (Inhaltsverzeichnis und Kommissionen des VSS: Internet: www.vss.ch; auch: Bundesamt für Strassen, Bern) ist das Thema nur ansatzweise ausgearbeitet. Zudem gehen die begleitenden Hinweise an der Realität vorbei. Eine Tramschiene ist z.B. immer gefährlich und nicht erst bei Steigung oder Gefälle ab 4%. Eine Tramschiene ist auch dann gefährlich, wenn weniger als 300 VelofahrerInnen pro Stunde die Haltestelle passieren (siehe Schweizer Norm SN 640 064, S.13 und  S.22: "mittlerer stündlicher Verkehr > 300 leichte Zweiräder oder Steigung > 4%"). In der Schweiz ist die Basler Polizei zudem die einzige, die überhaupt VelofahrerInnen zählt. Hier schon zeigen sich haltlose und diskriminierende Elemente der Ingenieurschulen, der Verkehrsorganisationen und der Verkehrspolitik gegenüber den Bedürfnissen des Veloverkehrs.

Es zeigte sich auch, dass ein 0-Risiko bei Tramhaltestellen nicht möglich ist, wohl aber oft ein einstelliges Risiko unter 5, dies auch auf relativ engem Raum. Bei fast allen Vorschlägen zu Umbauten werden die Autos über die Schienen geleitet. In Zürich sind drei solche Stationen bereits realisiert. Dabei vergrössert sich die Trottoirfläche z.T. bis um das Doppelte. Es bleibt meist sogar noch eine Vergrösserung der Trottoirfläche von über 20% übrig, wenn ein Radweg auf dem Trottoir angebracht wird. Die Konfrontationen der Verkehrsteilnehmer reduzieren sich dadurch massiv, und das Risiko zwischen Velo und Fussgänger ist wegen der grossen Ausweichmöglichkeiten minim. Zudem brauchen die MotorfahrzeuglenkerInnen sich um VelofahrerInnen zwischen den Tramschienen keine Sorgen mehr zu machen. Es haben also alle Verkehrsteilnehmer meist nur Vorteile.

Der erste Teil behandelt Tramstationen im Mischverkehr mit motorisiertem Verkehr. Der zweite Teil behandelt Tramstationen im Umbau zu einer Fussgängerzone. Bei den Fussgängerzonen können die Trottoirkanten ausserhalb der Tramstation zwischen 0-10cm variieren, frei nach Vorstellung der Bauämter.

Es sind auch Beispiele behandelt, wie durch Umbau eine Tramstation gefährlicher wurde, vor allem, wenn die Bedürfnisse der VelofahrerInnen ignoriert wurden, oder Velo-Organisationen nur die Bedürfnisse schneller, sportlicher Velofahrer berücksichtigen wollten. So werden unbegreiflicherweise in der Stadt Basel bis heute Velofahrer auch nach neuerem Umbau von Tramstationen "durch die Tramschienen gejagt" und dabei höchstem Unfallrisiko ausgesetzt.

Eine Tramstation mit einer Bilanz der Konfrontationspunkte von über 10 ist nicht ausgewogen gestaltet, ist zumindest einseitig gefahrenbelastet oder ignoriert eine oder mehrere Gruppen von VerkehrsteilnehmerInnen. Solche Tramstationen, und nicht nur diese, sind m.E. nicht verkehrstauglich und benötigen dringend der "technischen Ergänzung", damit alle Benutzer die Tramstation nicht als negativ erleben, und die Halter lautloser Fahrzeuge ebenfalls. Schnellen, sportlichen VelofahrerInnen sei es nicht verboten, weiterhin zwischen den Tramschienen zu fahren, wenn sie dies möchten.

Diese kleine Studie hat nicht den Anspruch auf Vollständigkeit. Insofern ist sie nie "fertig", sondern geht mit den Entwicklungen und Bedürfnissen der Zeit. Somit wäre es mein Wunsch, Tramstationen im Sinn von mehr Miteinander als Gegeneinander zu gestalten, um so den lautlosen und den öffentlichen Verkehr mehr zu fördern.

Michael Palomino
2003


Einige technische Hinweise zur Tramhaltestellengestaltung

Generell muss der motorisierte Verkehr zurückgebunden werden, um das Zusammenleben der stets wachsenden Bevölkerungen erträglich gestalten zu können. Dem lautlosen und dem öffentlichen Verkehr gelten die höchsten Prioritäten. Das Velo ist bezüglich Energiebilanz, Gesundheitsbilanz und Raumbilanz das effektivste Fahrzeug. Das Auto ist das ineffizienteste Verkehrsmittel, weil es Lärm macht, weil dauernd krebserregende Benzindämpfe eingeatmet werden, und weil meist nur ein Platz besetzt ist und vier leere Plätze mit leerem Kofferraum herumfahren.

In der Verkehrspolitik spielt bis heute ein falsche Logik: Erst, wenn viele VelofahrerInnen da sind, wird etwas für sie getan, analog von Formulierungen wie: "sinnvoll bei hauptsächlich linksabbiegendem Zweiradverkehr" etc. Die Forderung muss doch umgekehrt lauten: Die Verkehrspolitik muss konsequent und überall velofreundliche Bedingungen schaffen, um das lautlose und gesunde Velofahren so attraktiv wie möglich zu machen, damit der Veloverkehr weiter zunimmt und der schädliche, laute und gefährliche Autoverkehr abnimmt.

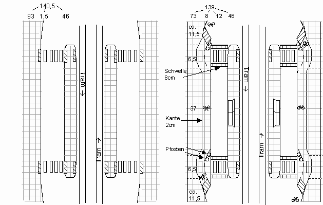
Velowege hinter dem Tramhäuschen hindurch
können verschieden abgegrenzt werden:
- durch Markierung (für Blinde nicht erkennbar, auch von Sehenden z.T. nicht beachtet, ist ungünstig)
- durch Kanten (am besten 2-4cm schiefe Kanten, wird von allen FussgängerInnen und VelofahrerInnen taktil wahrgenommen, und VelofahrerInnen können trotzdem gut ausweichen:


Kantenvarianten für Velowege /
                                Fahrradwege

Kantenvarianten für Velowege / Fahrradweg


- durch Kanten 8cm (VelofahrerInnen können nicht ausweichen, ist UNTAUGLICH)


Hohe
                                  rechtwinklige Kante für Velowege /
                                  Fahrradweg untauglich

Hohe rechtwinklige Kante für Velowege / Fahrradweg untauglich

- durch Pfosten (je nach Geschmack, sollten für Sehbehinderte in Kontrastfarbe zum Hintergrund sein)

- durch Belagsunterschiede (Pflastersteine sollten nur als Rinne angewandt werden, Betonpflastersteine sind für kurze Strecken in Fussgängerzonen sehr gut, denn Velos werden mit "Klacken" für die FussgängerInnen leicht hörbar).


Velowege auf der Zickzacklinie vor den Trampassagieren hindurch

Der Umbau wäre also so:
Tramstation mit Velos auf angehobenem
                          Veloweg auf Zickzacklinie vor den wartenden
                          Trampassagieren durch

Der Velobereich und der Wartebereich der wartenden Trampassagiere können in selber Weise (wie beim Veloweg hinten durch) verschieden abgegrenzt werden

-- durch Markierung (für Blinde nicht erkennbar, auch von Sehenden z.T. nicht beachtet, ist ungünstig)
-- durch Rinnen in Pflasterstein oder 10cm breiten, länglichen Dolendeckeln
-- durch Kanten (am besten 2-4cm schiefe Kanten, wird von allen taktil wahrgenommen, mit etwas schiefer Fahrbahn zur Trottoirkante)

Viele
                                  Kantenvarianten für Velowege /
                                  Fahrradweg Verschiedene Varianten von Rinnen und Kanten bei der Abgrenzung von Velobereich / Fahrradbereich und Fussgängerbereich.


- durch Pfosten (je nach Geschmack, sollten für Sehbehinderte in Kontrastfarbe zum Hintergrund sein)

- durch Belagsunterschiede (Eintrag 22.6.2003)

Eine solche Anwendung einer schrägen Kante wäre der Veloweg bei Tramstationen in engen Situationen, wenn der Veloweg auf einer Zickzacklinie vor den Trampassagieren hindurchführt.

Der Querschnitt wäre dieser:

Veloweg /
                                  Fahrradweg auf Zickzacklinie vor
                                  Trampassagieren hindurch, plus
                                  Signalisation Velo Tempo 5

Veloweg / Fahrradweg auf Zickzacklinie vor Trampassagieren hindurch, plus Signalisation Velo Tempo 5.

So funktioniert das zum Beispiel in Strassburg oder auch in Freiburg im Breisgau bei Busstationen sehr gut. Aber die IG Velo der Schweiz (IG Schnello) will diese Lösung für die Schweiz nicht...

Autospur und Schienenspur bei Tramstationen zu vereinen lohnt sich v.a. dann,

- wenn nur ein bis zwei Tramlinien die Strecke befahren
- wenn kleiner bis mittlerer oder nur punktuell grosser Motorfahrzeugverkehr herrscht, egal ob Autos oder Lastwagen.

Inseltramstation mit Geländer
Inseltramstation mit Geländer.


Geländer an Tramhaltestellen-Inseln
- sind einerseits sinnvoll zur Trennung von Motorfahrzeugverkehr und Fussgängerverkehr
- sind aber auch hinderlich
- weil kein flexibler Übergang möglich ist
- weil der Motorfahrzeugverkehr sich in einer falscher Sicherheit wiegt und oft extra noch Gas gibt, auch wenn am Ende ein Fussgängerstreifen folgt.


Fussgängerstreifen bei Traminseln erhöhen die Sicherheit auf jeden Fall und veranlassen den Motorfahrzeugverkehr, vorsichtiger zu fahren und vom Gas zu gehen:
- bei kleinerem Trampassagieraufkommen: ein Fussgängerstreifen in der Mitte der Traminsel
- bei grösserem Trampassagieraufkommen: zwei Fussgängerstreifen an den beiden Enden der Traminsel
Wenn Fussgängerstreifen bei Traminseln fehlen, ist dies ein Zeichen gröbster Fahrlässigkeit der Verkehrspolitik.
Wenn Tramstationen keine Auffahrten für RollstuhlfahrerInnen haben und/oder durch Stangen oder Bänke so verstellt sind, dass RollstuhlfahrerInnen die Stationen nicht benutzen können, so ist dies ein Zeichen dafür, dass die Verantwortlichen der Verkehrspolitik selber nie im Rollstuhl die Tramstationen getestet haben.

Wenn Tramstationen kein einziges Tramhäuschen haben, ist dies Zeichen diskriminierender Verkehrspolitik. Ein Tramhäuschen pro Tramstation bei gegenüberliegenden Tramhaltestellen ist das Minimum an Einrichtung. Das Argument, dass ein Tramhäuschen die "Sicht behindert", ist nicht stichhaltig, denn für Trampassagiere oder VelofahrerInnen behindert jedes Auto auch die "Sicht".

Wenn Tramstationen nicht einmal eine einzige Bank aufweisen, so ist die Autofreundlichkeit der Verkehrspolitik nicht mehr zu überbieten.

Für den öffentlichen Verkehr förderlich wäre es, wenn Tramstationen jeweils speziell beleuchtet würden, insbesondere die mit der Tramstation zusammenhängenden Fussgängerstreifen. Oberlichter in den Dächern von Tramhäuschen lassen Wartebereiche lichtdurchflutet freundlich erscheinen.


Verhältnis Trampassagieraufkommen und Veloverkehr

Bei der Bemessung des Trampassagieraufkommens ist zu unterscheiden zwischen
- schwachem, mittlerem, grossem und punktuell grossem Trampassagieraufkommen
- schwachem, mittlerem, grossem und punktuell grossem Fussgänger-Passierverkehr.

Speziell bei punktuell grossem Trampassagieraufkommen oder punktuell grossem Fussgänger-Passierverkehr können Tramstationen gleich wie für schwaches bis mittleres Trammpassagieraufkommen bzw. Fussgänger-Passierverkehr eingerichtet werden. Wegen einer Passagierspitze von 30 Minuten täglich velofreundliche Massnahmen auszuschliessen erscheint keine ausgewogene Verkehrspolitik. Zudem sind auch bei hohem Trampassagieraufkommen velofreundliche Massnahmen realisierbar (siehe Schweizer Norm 640 064 S.13 und S.22: "Quelle und Ziel der Fahrgäste primär auf der gegenüberliegenden Strassenseite"). Wie das Beispiel Basel zeigt, wurde jedoch in den letzten 20 Jahren an vielen Tramhaltestellen sogar bei meist niedrigem Trampassagieraufkommen jede velofreundliche Massnahme verweigert wie bei den Tramstationen St.Johann-Tor, Brombacherstrasse, Güterstrasse etc. bzw. der Zustand für VelofahrerInnen sogar verschlimmert.

(Mitentscheidende Organisation ist dabei die dumme IG-Velo Basel, die sich nur für schnelle und sportliche VelofahrerInnen einsetzt und nichts dagegen hatte, dass bei Neubauten von Tramstationen die Velos konsequent "in die Schienen gejagt" werden, und dessen Präsidium Ende 2002 eine Änderung sogar mehrfach mit dem Argument abschmetterte, es sei doch gerade erst umgebaut worden!)

Es erscheint, als hätten sich die Verkehrsorganisationen und Ingenieurschulen selbst Hürden auf dem Weg zur velofreundlichen Strassengestaltung gestellt. Dies hat Folgen:
- Eltern verbieten den Kindern das Velofahren
- ältere Menschen ab 50 fahren gar nicht mehr Velo
- alle VelofahrerInnen müssen mit Angst durch Tramschienen fahren, vor allem bei Nässe, und Autos parkieren legal auf breiten Trottoirs (Beweis für wenig FussgängerInnen!)
- AutofahrerInnen jagen VelofahrerInnen zwischen den Tramschienen
- Eltern müssen weiter Angst um ihre Kinder haben, die Velo fahren
- AutofahrerInnen steigen sicher nicht aufs Velo um, wenn Velofahren immer gefährlicher wird..
 
Es stellt sich auch der Verdacht, dass die Argumente der "Schweizer Normen" gegen velofreundliches Bauen parteipolitisch bzw. auto-politisch beeinflusst sein könnten. So wird das Umsteigen aufs Velo sicher nicht attraktiver. Insgesamt erweisen sich die Veloorganisationen in der Schweiz, v.a. aber in Basel, bezüglich Tramstationengestaltung als absolut unfähig, z.T. mit Behauptungen, wer Angst vor Tramschienen habe, solle das Velo stossen, oder über 50-Jährige sollten gar nicht mehr Velo fahren. Die nachfolgenden Beispiele sind der Beweis, und weitere Beispiele wären möglich gewesen, sind aber nicht erwähnt.

Es ist zu wünschen, dass sich in den Bauämtern und Veloorganisationen velofreundliche Strassengestaltung durchsetzt, so dass Trampassagiere und VelofahrerInnen gleichsam etwas vom Verkehrsraum haben, und nicht den FussgängerInnen 7m, dem Velofahrer aber nur 40-70cm zur Verfügung stehen.


Verschiedene Typen von Tramstationen bis 1980-er Jahre
Tramstationen mit
                                  Zickzacklinien, in Lage gegenüber,
                                  versetzt, oder in enger Lage ohne
                                  Zickzacklinien
Tramstationen mit Zickzacklinien, in Lage gegenüber, versetzt, oder in enger Lage ohne Zickzacklinien.
Varianten von
                                  Inseltramhaltestellen, mit
                                  Fussgängerstreifen und Geländer Varianten von Inseltramhaltestellen, mit Fussgängerstreifen und Geländer.
Varianten von
                                  Inseltramhaltestellen: versetzt oder
                                  an der Seite der Strasse Varianten von Inseltramhaltestellen: versetzt oder an der Seite der Strasse.



  1.Teil:
Tramstationen im Mischverkehr mit motorisiertem Verkehr


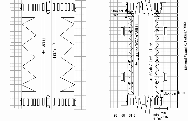
1. Umbau: Tramhaltestelle mit Zickzacklinie: Velos fahren auf erhöhten Velowegen auf der Zickzacklinie vor den wartenden Trampassagieren hindurch - Anwendung bei hoher Anzahl Fussgänger oder bei schmalen Trottoirs

z.B. Projekt Clarastrasse, Basel, 2003

Tramstation-Umbau in der
                                  Clarastrasse, Basel, Vorschlag
                                  Palomino Februar 2003
Tramstation-Umbau in der Clarastrasse, Basel, Vorschlag Palomino Februar 2003.

Eintrag der Zickzack-Linie: 6.3.2003
Eintrag der Geländerelemente: 30.3.2003
Eintrag der Mindestabstände: 30.3.2003

Alter Zustand (Konfrontationen, Stufen 1-10):

Trampassagier - Auto: 5: Auto kann sich zwischen Tram und Trottoir drängen

Trampassagier - Velo: 5: Velo kann sich zwischen Tram und Trottoir drängen

Velo - Auto: 3: genug Platz für Abstand von Trottoirkante und Überholmanöver, deshalb nur geringes Risiko

für RollstuhlfahrerInnen nicht praktikabel: 10: keine Trottoirkante für den Einstieg ins Tram da


Negativpunkt: lange Fussgängerstreifen, falls überhaupt vorhanden

Negativpunkt: Stop des ganzen Verkehrs bei Tram
Umbau: Verbesserungen und Verschlechterungen (Konfrontationen, Stufen 1-10):

Trampassagier - Auto: 0: Tram blockiert Auto vor der Tramhaltestelle

Trampassagier - Velo: 1: Velo stört wartende Trampassagiere nicht; Velo werden durch Schwelle und Pfosten angehalten, langsamer zu fahren; Velo wird durch Schwelle und Pfosten angehalten, bei Anwesenheit des Trams an der Schwelle zu warten.

Velo - Auto: 0: Trennung von Autofahrspur und Veloweg durch Trottoirkante

für RollstuhlfahrerInnen praktikabel: 0: stufenloser Zugang zur Tramstation mit Trottoirkante vorhanden


Pluspunkt: kürzere Fussgängerstreifen, weil Tram und Autos dieselbe Fahrspur benutzen
 
Pluspunkt: Autos müssen Tempo reduzieren, da diese auf den Schienen fahren müssen

Negativpunkt: der ganze Verkehr muss bei Tram an der Tramstation halten.

Bemerkung: bei regelmässig hohem Passagieraufkommen Mindestbreite des gesamten Trottoirs 6m (Eintrag 30.3.2003).

Tabelle: Bilanz eines Umbaus einer Strassen-Tramstation zu einer Tramstation mit angehobenen Velowegen vor den wartenden Trampassagieren hindurch, Stop bei Tram
Vor dem Umbau

Nach dem Umbau


Umbau
                                    Tramstation mit zwei erhöhten
                                    Velowegen vor den wartenden
                                    Trampassagieren hindurch, Stop bei
                                    Tram
Anzahl Trottoireinheiten total:
186
Anzahl Trottoireinheiten total:
365
+ 96,2%




ohne Velowege:
302
+ 62,4%

links
rechts



links
rechts



93
93



182,5
182,5

+ 96,2%




ohneVelowege:
151
151

+ 62,4%
Konfrontationen (Stufen 0-10)






Trampassagier-Auto 5





0
Trampassagier-Velo
5





1
Velo-Auto
3





0


für RollstuhlfahrerInnen nicht praktikabel
10





0


Konfrontationen Bilanz:
23





1














+ lange Fussgängerstreifen sind gefährlich
-
+ kurze Fussgängerstreifen erhöhen Sicherheit
+
+ Stop bei Tram
-
+ Stop bei Tram
-






+ Temporeduktion der Autos auf Schienen
+


Der Vorschlag des velofreundlichen und gleichzeitig fussgängerfreundlichen Umbaus wurde nicht realisiert. Das dumme Basler Baudepartement bevorzugte die Verschwenkung der Tramgeleise nahe zur Trottoirkante, so dass die VelofahrerInnen heute zwischen den Schienen landen.




2. Umbau: Tramhaltestelle mit Veloweg hinter dem Tramhäuschen hindurch - Anwendung bei niedriger bis mittlerer Anzahl Fussgänger oder bei breiten Trottoirs mit hoher Anzahl Fussgänger

Tramstation /
                                      Strassenbahnhaltestelle mit
                                      Veloweg / Fahrradweg hinter dem
                                      Tramhäuschen hindurch
Tramstation / Strassenbahnhaltestelle mit Veloweg / Fahrradweg hinter dem Tramhäuschen hindurch.

Eintrag Fussgängerstreifenelemente auf Veloweg: 6.3.2003
Eintrag der Geländerelemente: 30.3.2003
Eintrag der Mindestabstände: 28.6.2003

alter Zustand (Konfrontationen, Stufen 1-10):

Trampassagier - Auto: 5: Auto kann sich ohne Schwelle zwischen Tram und Trottoir drängen

Trampassagier - Velo: 5: Velo kann sich ohne Schwelle zwischen Tram und Trottoir drängen

Velo - Auto: 3: genug Platz für Abstand von Trottoirkante und Überholmanöver Auto-Velo, deshalb nur geringes Risiko

für RollstuhlfahrerInnen nicht praktikabel: 10: keine Trottoirkante für den Einstieg ins Tram vorhanden


Negativpunkt: lange Fussgängerstreifen, falls überhaupt vorhanden

Negativpunkt: Stop des ganzen Verkehrs bei Tram
Umbau: Verbesserungen und Verschlechterungen (Konfrontationen, Stufen 1-10):

Trampassagier - Auto: 0: Tram blockiert Auto vor der Tramhaltestelle

Trampassagier - Velo: 3 (bei Hauptverkehrszeiten): Trampassagiere müssen den Velostreifen auf dem Trottoir beachten. Das Risiko von Konfrontationen zwischen Velo und Trampassagieren ist jedoch relativ gering wegen Ausweichmöglichkeiten für beide Seiten, ohne dass Stufen überwunden werden müssen und ohne dass motorisierter Verkehr sich einmischen würde. Velos können die Tramhaltestelle auch während des Ein-Aussteigens der Trampassagiere vorsichtig passieren (Belagswechsel möglich, um schnelle Velos abzubremsen).

Velo - Auto: 0: Trennung von Autofahrspur und Veloweg durch Distanz und Stufe

für RollstuhlfahrerInnen praktikabel: 0: stufenloser Zugang zur Tramstation mit Trottoirkante vorhanden


Pluspunkt: kürzere Fussgängerstreifen, weil Tram und Autos dieselbe Fahrspur benutzen

Pluspunkt: Autos müssen Tempo reduzieren, da diese auf den Schienen fahren müssen

Bemerkung:
 - bei niedriger bis mittlerer Anzahl FussgängerInnen sind keine Fussgängerstreifenelemente auf dem Velostreifen nötig, da gegenseitiges Ausweichen möglich ist. (Eintrag 30.3.2003).
- bei regelmässig hohem Passagieraufkommen sollte Mindestbreite 8m (30.3.2003) (z.B. in einer Fussgängerzone).

Tabelle: Bilanz eines Umbaus einer Strassen-Tramstation zu einer Tramstation mit Veloweg hinter dem Tramhäuschen hindurch
Vor dem Umbau


Nach dem Umbau


Umbau
                                        Tramstation mit Velowegen hinten
                                        durch
Anzahl Trottoireinheiten total:
186

Anzahl Trottoireinheiten total:
340
+ 82,8%





ohne Velowege / ohne Radwege:
259
+ 39,2%

links
rechts



links
rechts



93
93



170
170

+ 82,8%





ohneVelowege:
129,5
129,5

+ 39,2%
Konfrontationen (Stufen 0-10)







Trampassagier-Auto 5





0
Trampassagier-Velo
5





3
Velo-Auto
3





0


für RollstuhlfahrerInnen nicht praktikabel
10





0


Konfrontationen Bilanz:
23





3














+ lange Fussgängerstreifen sind gefährlich
-
+ kurze Fussgängerstreifen erhöhen Sicherheit
+
+ Stop bei Tram
-
+ Stop bei Tram
-






+ kein Stop bei Tram für Velos
+






+ Temporeduktion der Autos, die auf den Schienen fahren müssen
+

Schnelle Velos ("Schnellos") fahren sowieso zwischen den Tramschienen...





3. Untauglicher Umbau der Tramhaltestelle Barfüsserplatz der Tramlinie 3, Basel: Velos werden durch die Schienen gejagt, bei Gefälle / Steigung

Beispiel: Haltestelle Barfüsserplatz, Tramlinie 3, abwärts ohne Autoverkehr

Umbau
                                            einer Tramstation mit
                                            Verschwenkung, die Velos /
                                            Fahrräder werden durch die
                                            Schienen gejagt, und das
                                            noch bei Gefälle / Steigung
Umbau einer Tramstation mit Verschwenkung, die Velos / Fahrräder werden durch die Schienen gejagt, und das noch bei Gefälle / Steigung.

Eintrag Fussgängerstreifenelemente auf Veloweg: 6.3.2003
Eintrag der Geländerelemente: 30.3.2003
Eintrag der Mindestabstände: 30.3.2003

Dem dummen Basler Baudepartement ist es egal, der dummen IG-Velo Basel ist es egal, und andere Lösungen werden nicht in Betracht gezogen. So lange der Lohn stimmt und die dumme IG-Velo in Basel nur aus schnellen VelofahrerInnen besteht, wird an dieser velofeindlichen Praxis in Basel nichts ändern.

Alter Zustand (Konfrontationen, Stufen 1-10):

Trampassagier - Auto: 5: Auto kann sich ohne Schwelle zwischen Tram und Trottoir drängen

Trampassagier - Velo: 5: Velo kann sich ohne Schwelle zwischen Tram und Trottoir drängen

Velo - Auto: 3: genug Platz für Abstand von Trottoirkante und Überholmanöver Auto-Velo, deshalb nur geringes Risiko

für RollstuhlfahrerInnen nicht praktikabel: 10: keine Trottoirkante für den Einstieg ins Tram vorhanden


Negativpunkt: lange Fussgängerstreifen, falls überhaupt vorhanden

Negativpunkt: Stop des ganzen Verkehrs bei Tram
Umbau: Verbesserungen und Verschlechterungen (Konfrontationen, Stufen 1-10):

Trampassagier - Auto: 0: Autos dürfen nicht fahren

Trampassagier - Velo: 9:
links: sobald ein Fussgänger auf die Strasse tritt, kann der Velofahrer kaum noch ausweichen, höchste Unfallgefahr durch Tramschienen, aber das Anhalten ist durch die Steigung nicht schwierig; Tram blockiert Velo vor der Tramhaltestelle
rechts: sobald ein Fussgänger auf die Strasse tritt, kann der Velofahrer kaum noch ausweichen, höchste Unfallgefahr durch Tramschienen, das Anhalten ist aufgrund des Gefälles erschwert; Tram blockiert Velo vor der Tramhaltestelle

Velo - Auto: 0: Autos dürfen nicht fahren

Velo - Tramschiene:
links: 9: sobald eine Unregelmässigkeit auftritt, kann der Velofahrer kaum noch ausweichen, höchste Unfallgefahr durch Tramschienen, aber das Anhalten ist durch die Steigung nicht schwierig
rechts: 9: sobald eine Unregelmässigkeit auftritt, kann der Velofahrer kaum noch ausweichen, höchste Unfallgefahr durch Tramschienen, aber das Anhalten ist durch das Gefälle erschwert

für RollstuhlfahrerInnen praktikabel: 0: stufenloser Zugang zur Tramstation mit Trottoirkante vorhanden

Gefälle und Tramschiene:
links: 0: Steigung begünstigt Anhalten bei auftretender Unregelmässigkeit
rechts: 5: Gefälle erschwert Anhalten bei auftretender Unregelmässigkeit


 Positiv: kürzere Fussgängerstreifen, weil Tram und Autos dieselbe Fahrspur benutzen

Negativ: der gesamte Verkehr muss bei Tram anhalten.

Tabelle: Bilanz eines Umbaus einer Strassen-Tramstation zu einer Tramstation mit Verschwenkung und Velos durch die Schienen gejagt
Vor dem Umbau


Nach dem Umbau


Umbau einer Tramstation
                                            mit Verschwenkung an den
                                            Trottoirrand, Velos werden
                                            in die Schienen gejagt
Anzahl Trottoireinheiten total: 186
Anzahl Trottoireinheiten total: 302,75 + 82,8%

links
rechts


links
rechts



93
93


93
209,75








+ 125,5%


Konfrontationen (Stufen 0-10)
links
rechts


links
rechts
Trampassagier-Auto 0
0


0
0
Trampassagier-Velo
9
5


9
9
Velo-Auto
0
0


0
0


Velo-Tramschiene
9
0


9
9


für RollstuhlfahrerInnen nicht praktikabel
ja: 0
nein:10


ja: 0
ja: 0


Gefälle Tramschiene




0
5


Konfrontationen Bilanz:
18
15


18
23













+ lange Fussgängerstreifen sind gefährlich -

+ kurze Fussgängerstreifen erhöhen Sicherheit +
+ Stop bei Tram -

+ Stop bei Tram -







+ Temporeduktion der Autos auf Schienen +





4. Untauglicher Umbau der Tramhaltestelle Solothurnerstrasse, Basel: Velos werden durch die Schienen gejagt

ebenso: Haltestellen IWB, Unterführung SBB, Mülhauserstrasse etc., und noch viele andere, weil das dumme Baudepartement Basel bis heute keine fussgängerfreundlichen Tramhaltestellen realisieren will, die gleichzeitig velofreundlich sind.

Velofeindlicher Umbau
                                              einer Tramstation mit
                                              Verschwenkung der Geleise
                                              an den Trottoirrand, und
                                              die Velos / Fahrräder
                                              werden durch die Schienen
                                              gejagt, Beispiel:
                                              Solothurnerstrasse, Basel
Velofeindlicher Umbau einer Tramstation mit Verschwenkung der Geleise an den Trottoirrand, und die Velos / Fahrräder werden durch die Schienen gejagt, Beispiel: Solothurnerstrasse, Basel.

Alter Zustand (Konfrontationen, Stufen 1-10):

Trampassagier - Auto: 5: Auto kann sich zwischen Tram und Trottoir drängen

Trampassagier - Velo: 5: Velo kann sich zwischen Tram und Trottoir drängen

Velo - Auto: 3: genug Platz für Abstand von Trottoirkante und Überholmanöver, deshalb nur geringes Risiko

für RollstuhlfahrerInnen nicht praktikabel: 10: keine Trottoirkante für den Einstieg ins Tram da


Negativpunkt: lange Fussgängerstreifen, falls überhaupt vorhanden

Negativpunkt: Stop des ganzen Verkehrs bei Tram
Umbau: Verbesserungen und Verschlechterungen (Konfrontationen, Stufen 1-10):

Trampassagier - Auto: 0: Tram blockiert Auto vor der Tramhaltestelle

Trampassagier - Velo: 9:
sobald ein Fussgänger auf die Strasse tritt, kann der Velofahrer kaum noch ausweichen, höchste Unfallgefahr durch Tramschienen; Tram blockiert Velo vor der Tramhaltestelle.

Velo - Auto: 10: volle Konfrontation auf eingeschränkter Fahrbahn, zusätzlich noch mit Gefährdung durch Tramschienen

Velo - Tramschiene: 9: sobald eine Unregelmässigkeit auftritt, kann der Velofahrer kaum noch ausweichen, höchste Unfallgefahr durch Tramschienen

für RollstuhlfahrerInnen praktikabel: 0: stufenloser Zugang zur Tramstation mit Trottoirkante vorhanden


Positiv: Temporeduktion von Autos auf Schienen

Positiv: kürzere Fussgängerstreifen, weil Tram und Autos dieselbe Fahrspur benutzen

Negativ: der gesamte Verkehr muss bei Tram anhalten

Tabelle: Bilanz eines Umbaus einer Strassen-Tramstation zu einer Tramstation mit Verschwenkung - Velos in die Tramschienen gejagt
Vor dem Umbau

Nach dem Umbau


Umbau einer
                                                Tramstation,
                                                Verschwenkung der
                                                Schienen an den
                                                Trottoirrand, Velos
                                                werden in die
                                                Tramschienen gejagt,
                                                Basel,
                                                Solothurnerstrasse
Anzahl Trottoireinheiten total:
186
Anzahl Trottoireinheiten total:
434
+ 133,3%




ohne Velowege:
259
+ 39,2%

links
rechts


links
rechts



93
93


217
217







+ 133,3%
+ 133,3%


Konfrontationen (Stufen 0-10)






Trampassagier-Auto 5




0
Trampassagier-Velo
5




9


Velo-Auto
3




10


Velo-Tramschiene
0




9


für RollstuhlfahrerInnen nicht praktikabel
10




0


Konfrontationen Bilanz:
23




28













+ lange Fussgängerstreifen sind gefährlich -
+ kurze Fussgängerstreifen erhöhen Sicherheit +
+ Stop bei Tram -
+ Stop bei Tram






+ Temporeduktion der Autos auf Tramschienen +






+ Autos jagen Velos zwischen den Schienen -






5. Untauglicher Umbau: Tramhaltestelle Tellplatz, Basel: Velos / Fahrräder werden zwischen die Tramschienen gejagt mit Weichen

Etwas kriminelleres und velofeindlicheres gibt es nicht, und in Basel bleibt das schon seit Jahrzehnten so stehen. So lange der Lohn stimmt, unternimmt das velofeindliche Baudepartement in Basel nichts. Das macht dem Namen "Tell" alle Ehre. Die VelofahrerInnen sollen andere Strassen benutzen...

Umbau der
                                                    Tramstation
                                                    Tellplatz mit
                                                    Verschwenkung, die
                                                    Velos / Fahrräder
                                                    werden durch die
                                                    Schienen gejagt, mit
                                                    Weichen. Beispiel:
                                                    Basel, Tellplatz
Umbau der Tramstation Tellplatz mit Verschwenkung, die Velos / Fahrräder werden durch die Schienen gejagt, mit Weichen. Beispiel: Basel, Tellplatz.

Alter Zustand (Konfrontationen, Stufen 1-10):

Trampassagier - Auto: 5: Auto kann sich zwischen Tram und Trottoir drängen

Trampassagier - Velo: 5: Velo kann sich zwischen Tram und Trottoir drängen

 Velo - Auto: 3: genug Platz für Abstand von Trottoirkante und Überholmanöver, deshalb nur geringes Risiko

für RollstuhlfahrerInnen nicht praktikabel: 10: keine Trottoirkante für den Einstieg ins Tram da


Negativpunkt: lange Fussgängerstreifen, falls überhaupt vorhanden

Negativpunkt: Stop des ganzen Verkehrs bei Tram
Umbau: Verbesserungen und Verschlechterungen (Konfrontationen, Stufen 1-10):

Trampassagier - Auto: 0: Tram blockiert Auto vor der Tramhaltestelle

Trampassagier - Velo: 9:
sobald ein Fussgänger auf die Strasse tritt, kann der Velofahrer kaum noch ausweichen, höchste Unfallgefahr durch Tramschienen; Tram blockiert Velo vor der Tramhaltestelle.

Velo - Auto: 10: volle Konfrontation auf eingeschränkter Fahrbahn, zusätzlich noch mit Gefährdung durch Tramschienen

Velo - Tramschiene: 10: sobald eine Unregelmässigkeit auftritt, kann der Velofahrer kaum noch ausweichen, höchste Unfallgefahr durch Tramschienen, zusätzlich noch spitzwinklig mit Weichen

für RollstuhlfahrerInnen praktikabel: 0: stufenloser Zugang zur Tramstation mit Trottoirkante vorhanden


Positiv: Temporeduktion von Autos auf Schienen

Negativ: der gesamte Verkehr muss bei Tram anhalten

Negativ: Weichen sind Velokiller und der Querungswinkel entspricht nicht mehr der Norm SN, die einen Querungswinkel von 45° vorschreibt. Diese Situation tritt am Tellplatz gleich zweimal auf.

Bemerkung:
- Zickzacklinie auf dem Trottoir, um zu verhindern, dass Autos auf dem breiten Trottoir halten oder parkieren (Eintrag 30.3.2003).
- Wirkung der Zickzacklinie auf dem Trottoir: Es halten sich auf der Zickzacklinie auch kaum FussgängerInnen auf. Die Trampassagiere warten fast alle hinter der Zickzacklinie (30.3.2003).

Tabelle: Bilanz eines Umbaus einer Strassen-Tramstation zu einer Tramstation mit Verschwenkung - Velos in die Schienen gejagt, mit Weichen
Vor dem Umbau

Nach dem Umbau


Umbau einer
                                                    Tramstation mit
                                                    Verschwenken der
                                                    Tramgleise an den
                                                    Trottoirrand, Velos
                                                    werden durch die
                                                    Schienen gejagt, mit
                                                    Weichen, Tellplatz,
                                                    Basel
Anzahl Trottoireinheiten total:
161
Anzahl Trottoireinheiten total:
283
+ 75,8%




ohne Velowege:
259
+ 39,2%


rechts



rechts




80,5



202,5








+ 152%


Konfrontationen (Stufen 0-10)






Trampassagier-Auto 5




0
Trampassagier-Velo
5




9


Velo-Auto
3




10


Velo-Tramschiene
0




10


für RollstuhlfahrerInnen nicht praktikabel
10




0


Konfrontationen Bilanz:
23




29













+ Stop bei Tram -


+ Stop bei Tram -






+ Temporeduktion der Autos auf Tramschienen +






+ Autos jagen Velos zwischen den Schienen -






+ Weichen als Velokiller -





6. Umbau einer Inseltramhaltestelle: Velos / Fahrräder auf Veloweg / Fahrradweg hinter den Tramhäuschen hindurch


Dies ist bei schwachem bis mittlerem Fussgängeraufkommen die beste und einfachste Lösung. Beispiel: Tramhaltestelle Museum Rietberg, Zürich.

Umbau einer
                                                        Inseltramhaltestelle









                                                        zu einer
                                                        Kaphaltestelle
                                                        mit Veloweg /
                                                        Fahrradweg
                                                        hinter dem
                                                        Tramhäuschen
                                                        hindurch.
                                                        Beispiel:
                                                        Zürich, Station
                                                        Museum Rietberg
Umbau einer Inseltramhaltestelle zu einer Kaphaltestelle mit Veloweg / Fahrradweg hinter dem Tramhäuschen hindurch.
Beispiel: Zürich, Station Museum Rietberg

Eintrag Fussgängerstreifenelemente auf Veloweg: 6.3.2003
Eintrag der Mindestabstände: 28.6.2003

Alter Zustand (Konfrontationen, Stufen 1-10):

Trampassagier - Auto: 10: Trampassagiere müssen Strassenfahrbahn überqueren, um zum Tram zu gelangen

Trampassagier - Velo: 8: Trampassagiere und Velos konfrontieren sich auf der Strassenfahrbahn, Velos werden durch Autos gleichzeitig bedrängt, haben nur beschränkten  Platz zum Ausweichen

Velo - Auto: 10: volle Konfrontation auf eingeschränkter Fahrbahn

für RollstuhlfahrerInnen kaum praktikabel: 9: RollstuhlfahrerInnen müssen die Fahrbahn überqueren und werden auf der Traminseln durch Bänke oder andere montierte Gegenstände blockiert.
Umbau: Verbesserungen und Verschlechterungen (Konfrontationen, Stufen 1-10):

Trampassagier - Auto: 0: Tram blockiert Autos vor der Tramhaltestelle

Trampassagier - Velo: 3 (bei Hauptverkehrszeiten): Trampassagiere müssen den Velostreifen auf dem Trottoir beachten. Das Risiko von Konfrontationen zwischen Velo und Trampassagieren ist jedoch relativ gering wegen Ausweichmöglichkeiten für beide Seiten, ohne dass Stufen überwunden werden müssen und ohne dass motorisierter Verkehr sich einmischen würde. Velos können die Tramhaltestelle auch während des Ein-Aussteigens der Trampassagiere vorsichtig passieren (Belagswechsel möglich, um schnelle Velos abzubremsen).

Velo - Auto: 0: Trennung von Autofahrspur und Veloweg durch Distanz und Stufe

für RollstuhlfahrerInnen praktikabel: 0: stufenloser Zugang zur Tramstation mit Trottoirkante vorhanden


Pluspunkt: kürzere Fussgängerstreifen, weil Tram und Autos dieselbe Fahrspur benutzen

Pluspunkt: Autos müssen Tempo reduzieren, da diese auf den Schienen fahren müssen

Bemerkung:
- Bei niedriger bis mittlerer Anzahl FussgängerInnen sind keine Fussgängerstreifenelemente auf dem Velostreifen nötig (Eintrag 30.3.2003), gegenseitiges Ausweichen ist immer möglich (19.6.2003)..
- bei regelmässig hohem Passagieraufkommen Mindestbreite 8m (30.3.2003).

Tabelle: Bilanz eines Umbaus einer Inseltramstation zu einer Tramstation mit Veloweg / Fahrradweg hinter dem Tramhäuschen durch
Vor dem Umbau

Nach dem Umbau


Umbau einer
                                                        Tramstation zur
                                                        Kaphaltestelle
                                                        mit Velowegen /
                                                        Fahrradwegen
                                                        hinter dem
                                                        Tramhäuschen
                                                        durch, Beispiel
                                                        Museum Rietberg,
                                                        Zürich
Anzahl Trottoireinheiten total:
281
Anzahl Trottoireinheiten total:
424
+ 50,9%




ohne Velowege / ohne Radwege:
343
+ 22,1%

links
rechts


links
rechts



140,5
140,5


212
212

+ 50,9%




ohne Velowege:
171,5
171,5

+ 2,1%
Konfrontationen (Stufen 0-10)






Trampassagier-Auto 10




0
Trampassagier-Velo
8




3
Velo-Auto
10




0
Velo-Tramschiene
0




0


für RollstuhlfahrerInnen nicht praktikabel
9




0


Konfrontationen Bilanz:
37




3













+ Stop bei Tram
-

+ Stop bei Tram
-





+ kein Stop bei Tram für Velos
+





+ Temporeduktion der Autos auf Schienen
-





7. Vorschlag eines Umbaus der Tramhaltestelle Brombacherstrasse: Teillösung I.

Die Teillösung I. bezieht sich darauf, dass nur eine Seite der Haltestelle umgebaut wurde.

Die Haltestelle Brombacherstrasse in Basel wurde aber an der einen Seite derart velofeindlich umgebaut (Velos zwischen die Schienen gejagt, mit zweizeiliger Rinne aus roh gehauenem Pflasterstein), so dass der folgende Vorschlag eigentlich sofort realisiert werden könnte:

Vorschlag
                                                          des Umbaus der
                                                          Tramstation
                                                          Brombacherstrasse
                                                          mit Veloweg /
                                                          Fahrradweg
                                                          hinter dem
                                                          Tramhäuschen
                                                          durch
Vorschlag des Umbaus der Tramstation Brombacherstrasse mit Veloweg / Fahrradweg hinter dem Tramhäuschen durch

Eintrag Fussgängerstreifenelemente auf Veloweg: 6.3.2003
Eintrag der Mindestabstände: 28.6.2003

Der Witz ist: Man müsste gar nicht viel machen, um diesen Vorschlag zu realisieren. Man müsste ein bisschen Farbe auf das breite Trottoir aufpinseln, oder eine kleine Rinne installieren, und die Bäume, die dort platziert wurden, wo der Veloweg hin sollte, kann man versetzen. Aber an einer velofreundlichen Tramstation ist das dumme Basler Baudepartement bis heute (2006) NICHT interessiert, so lange der Lohn stimmt...

Alter Zustand (Konfrontationen, Stufen 1-10):

Trampassagier - Auto: 10: Trampassagiere müssen Strassenfahrbahn überqueren, um zum Tram zu gelangen

 Trampassagier - Velo: 8: Trampassagiere und Velos konfrontieren sich auf der Strassenfahrbahn, Velos werden durch Autos gleichzeitig bedrängt, haben nur beschränkten Platz zum Ausweichen

Velo - Auto: 10: volle Konfrontation auf eingeschränkter Fahrbahn

für RollstuhlfahrerInnen kaum praktikabel: 9: RollstuhlfahrerInnen müssen die Fahrbahn überqueren und werden auf der Traminseln durch Bänke oder andere montierte Gegenstände blockiert
Umbau: Verbesserungen und Verschlechterungen (Konfrontationen, Stufen 1-10):

Trampassagier - Auto:
links: 10: Trampassagiere müssen Strassenfahrbahn überqueren, um zum Tram zu gelangen
rechts: 0: Tram blockiert Autos vor der Tramhaltestelle

Trampassagier - Velo (bei Hauptverkehrszeiten):
links: 8: Trampassagiere und Velos konfrontieren sich auf der Strassenfahrbahn, Velos werden durch Autos gleichzeitig bedrängt, haben nur beschränkten Platz zum Ausweichen
rechts: 3: Trampassagier - Velo: 3 (bei Hauptverkehrszeiten): Trampassagiere müssen den Velostreifen auf dem Trottoir beachten. Das Risiko von Konfrontationen zwischen Velo und Trampassagieren ist jedoch relativ gering wegen Ausweichmöglichkeiten für beide Seiten, ohne dass Stufen überwunden werden müssen und ohne dass motorisierter Verkehr sich einmischen würde. Velos können die Tramhaltestelle auch während des Ein-Aussteigens der Trampassagiere vorsichtig passieren (Belagswechsel möglich, um schnelle Velos abzubremsen).

Velo - Auto:
links: 10: volle Konfrontation auf eingeschränkter Fahrbahn
rechts: 0: Trennung von Autofahrspur und Veloweg durch Distanz und Stufe

für RollstuhlfahrerInnen praktikabel:
links: 9: RollstuhlfahrerInnen müssen die Fahrbahn überqueren und werden auf der Traminseln durch Bänke oder andere montierte Gegenstände blockiert
rechts: 0: stufenloser Zugang zur Tramstation mit Trottoirkante vorhanden


Pluspunkt: rechts: Autos müssen Tempo reduzieren, da diese auf den Schienen fahren müssen

Bemerkung:
- bei niedriger bis mittlerer Anzahl Fussgänger sind keine Fussgängerstreifenelemente auf dem Velostreifen nötig (Eintrag 30.3.2003), gegenseitiges Ausweichen möglich (19.6.2003)
- bei regelmässig hohem Passagieraufkommen Mindestbreite 8m (30.3.2003)

Tabelle: Bilanz eines einseitigen Umbaus einer Inseltramstation zu einer Kaphaltestelle mit Veloweg / Fahrradweg hinter dem Tramhäuschen durch
Vor dem Umbau

Nach dem Umbau



Einseitiger









                                                          Umbau einer
                                                          Inseltramhaltestelle
                                                          zu einer
                                                          Kaphaltestelle
                                                          mit Velowegen
                                                          / Fahrradweg
                                                          hinter den
                                                          Tramhäuschen
                                                          hindurch
Anzahl Trottoireinheiten total:
281
Anzahl Trottoireinheiten total:

355,5
+ 26,5%




ohne Velowege:

315
+ 12,1%

links
rechts


links
rechts




140,5
140,5


140
215
+ 53%




ohne Velowege:
174,5
+ 24,2%












Konfrontationen (Stufen 0-10)






rechts
Trampassagier-Auto 10





0
Trampassagier-Velo
8





3
Velo-Auto
10





0
Velo-Tramschiene
0





0


für RollstuhlfahrerInnen nicht praktikabel
9





0


Konfrontationen Bilanz:
37





3














+ Stop bei Tram
-

+ Stop bei Tram -







+ kein Stop bei Tram für Velos +







+ Temporeduktion der Autos auf Schienen
+







8. Umbau einer Inseltramhaltestelle zu einer Inseltramhaltestelle mit Veloweg hinten durch in 8cm hohen Kanten: Teillösung II.


Die Teillösung II. bezieht sich auf einen einseitigen Veloweg hinter dem Tramhäuschen hindurch in 8cm hohen Kanten.

Die Inseltramhaltestelle Kasernenstrasse in Basel wurde rechts verbreitert und für den normalen Autoverkehr gesperrt. Über die Schienen dürfen nur Taxi und Notfallfahrzeuge fahren. Es blieb ein Veloweg hinter dem Tramhäuschen hindurch, der bis heute in 8cm hohen Kanten gehalten wird, total unflexibel, die VelofahrerInnen können nicht ausweichen. Und manchmal wird der Veloweg, der wie eine kleine Strasse aussieht, auch von TaxifahrerInnen benutzt, die dort minutenlang auf Kunden warten und so den Veloverkehr vorsätzlich blockieren. Das Baudepartement Basel reagiert bis heute nicht. So lange der Lohn stimmt, wird doch nichts unternommen...

Umbau
                                                          einer
                                                          Inseltramstation
                                                          mit Veloweg /
                                                          Fahrradweg
                                                          hinter dem
                                                          Tramhäuschen
                                                          hindurch in
                                                          8cm hohen
                                                          Kanten.
                                                          Beispiel:
                                                          Tramstation
                                                          Kaserne,
                                                          Basel
Umbau einer Inseltramstation mit Veloweg / Fahrradweg hinter dem Tramhäuschen hindurch in 8cm hohen Kanten. Die hohen Kanten machen jedes Ausweichen unmöglich und fördern die Konfrontation zum Trampassagier und Fussgänger. Beispiel: Tramstation Kaserne, Basel.

Alter Zustand (Konfrontationen, Stufen 1-10):

Trampassagier - Auto: 10: Trampassagiere müssen Strassenfahrbahn überqueren, um zum Tram zu gelangen

Trampassagier - Velo: 8: Trampassagiere und Velos konfrontieren sich auf der Strassenfahrbahn, Velos werden durch Autos gleichzeitig bedrängt, haben nur beschränkten  Platz zum Ausweichen

Velo - Auto: 10: volle Konfrontation auf eingeschränkter Fahrbahn

für RollstuhlfahrerInnen kaum praktikabel: 9: RollstuhlfahrerInnen müssen die Fahrbahn überqueren und werden auf der Traminseln durch Bänke oder andere montierte Gegenstände blockiert.
Umbau: Verbesserungen und Verschlechterungen (Konfrontationen, Stufen 1-10):

Trampassagier - Auto:
links: 10: Trampassagiere müssen Strassenfahrbahn überqueren, um zum Tram zu gelangen
rechts: 0: Tram blockiert Autos vor der Tramhaltestelle

Trampassagier - Velo (bei Hauptverkehrszeiten):
links: 8: Trampassagiere und Velos konfrontieren sich auf der Strassenfahrbahn, Velos werden durch Autos gleichzeitig bedrängt, haben nur beschränkten Platz zum Ausweichen
rechts: 4: Trampassagiere müssen den Velostreifen beachten, der zwei zusätzliche Trottoirkanten hat. Das Risiko von Konfrontationen ist nicht gering, weil für das Velo keine Ausweichmöglichkeiten bestehen. Velos können die Tramhaltestelle auch während des Ein-Aussteigens der Trampassagiere vorsichtig passieren (Belagswechsel möglich).

Velo - Auto:
links: 10: volle Konfrontation auf eingeschränkter Fahrbahn
rechts: 0: Trennung von Autofahrspur und Veloweg durch Traminsel

für RollstuhlfahrerInnen praktikabel:
links und rechts: 9: RollstuhlfahrerInnen müssen Fahrbahnen überqueren und werden auf der Traminseln durch Bänke oder andere montierte Gegenstände blockiert und durch Trottoirkanten eingeschränkt


Pluspunkt: rechts: Autos müssen Tempo reduzieren, da diese auf den Schienen fahren müssen

Bemerkung:
Bei hohem Passagieraufkommen ist diese Anordnung gefährlich, weil VelofahrerInnen den FussgängerInnen nicht ausweichen können (Eintrag 30.3.2003).

Tabelle: Bilanz eines einseitigen Umbaus einer Inseltramstation zu einer Inseltramstation mit Veloweg / Fahrradweg hinter dem Tramhäuschen durch in 8cm hohen Kanten
Vor dem Umbau

Nach dem Umbau



Untauglicher









                                                          einseitiger
                                                          Umbau einer
                                                          Inseltramstation
                                                          zu einer
                                                          INseltramstation
                                                          mit Veloweg /
                                                          Fahrradweg
                                                          hinter dem
                                                          Tramhäuschen
                                                          hindurch in
                                                          8cm hohen
                                                          Kanten
Anzahl Trottoireinheiten total:
281
Anzahl Trottoireinheiten total:

312
+ 11,1%




ohne Velowege:

315
+ 12,1%

links
rechts


links
rechts




140,5
140,5


140
171,5
+ 22,1%











Konfrontationen (Stufen 0-10)





links
rechts
Trampassagier-Auto 10




10
0
Trampassagier-Velo
8




8
4
Velo-Auto
10




10
0
Velo-Tramschiene
0




0
0


für RollstuhlfahrerInnen nicht praktikabel
9




9
9


Konfrontationen Bilanz:
37




37
13














+ kein Stop bei Tram
+

+ Stop bei Tram
-






+ kein Stop bei Tram für Velos
+






+ Temporeduktion der Autos auf den Schienen
+


Tatsache ist, dass die Taxis sich von den Tramschienen nicht vom Rasen abhalten lassen. Und ohne Polizeikontrolle fahren auch normale Autos durch das Fahrverbot bei der Tramstation.





9. Umbau einer Inseltramhaltestelle mit viel Tramverkehr: Ergänzung mit erhöhten Velowegen und erhöhten Fussgängerstreifen

Diese Lösung wurde bis heute nirgendwo realisiert. Die erhöhten Fussgängerstreifen geben dem Autoverkehr eine wirksame Verlangsamung.

Inseltramhaltestelle



















                                                          ergänzt mit
                                                          erhöhten
                                                          Velowegen /
                                                          Fahrradwegen
                                                          und erhöhten
                                                          Fussgängerstreifen
Inseltramhaltestelle ergänzt mit erhöhten Velowegen / Fahrradwegen und erhöhten Fussgängerstreifen.

Alter Zustand (Konfrontationen, Stufen 1-10):

Trampassagier - Auto: 10: Trampassagiere müssen Strassenfahrbahn überqueren, um zum Tram zu gelangen

Trampassagier - Velo: 8: Trampassagiere und Velos konfrontieren sich auf der Strassenfahrbahn, Velos werden durch Autos gleichzeitig bedrängt, haben nur beschränkten Platz zum Ausweichen

 Velo - Auto: 10: volle Konfrontation auf eingeschränkter Fahrbahn

für RollstuhlfahrerInnen kaum praktikabel: 9: RollstuhlfahrerInnen müssen die Fahrbahn überqueren und werden auf der Traminseln durch Bänke oder andere montierte Gegenstände blockiert.
Umbau: Verbesserungen und Verschlechterungen (Konfrontationen, Stufen 1-10):

Trampassagier - Auto: 4: eingeschränkte Geschwindigkeit der Autos durch zwei erhöhte Fussgängerstreifen

Trampassagier - Velo: 4: geringe Konfrontation durch Gestaltung der Köpfe der Fussgängerstreifen mit Fussgängerraum, Kante von 2cm trennt Velos und Fussgänger über die Länge des Trottoirs

Velo - Auto: 0: Trennung von Autofahrspur und Veloweg durch Velowegkante

für RollstuhlfahrerInnen praktikabel: 1: erhöhte Fussgängerstreifen und die Gestaltung der Köpfe der Fussgängerstreifen mit Fussgängerraum ermöglichen relativ sicheren Fahrbahnübergang, zentriert angebrachte montierte Gegenstände auf den Traminseln blockieren die RollstuhlfahrerInnen nicht


Pluspunkt: kürzere Fussgängerstreifen, weil Autos und Velos getrennte Fahrbahnen benutzen

Pluspunkt: Temporeduktion der Autos durch 4 grosse Schwellen.

Tabelle: Bilanz einer Ergänzung einer Inseltramstation mit erhöhten Velowegen und erhöhten Fussgängerstreifen
Vor dem Umbau

Nach dem Umbau



Inseltramstation









                                                          mit erhöhten
                                                          Velowegen und
                                                          erhöhten
                                                          Fussgängerstreifen,
                                                          Entwurf
                                                          Palomino
Anzahl Trottoireinheiten total:
281
Anzahl Trottoireinheiten total:

278
- 1,1%




ohne Velowege:

315
+ 12,1%

links
rechts


links
rechts




140,5
140,5


139
139













Konfrontationen (Stufen 0-10)







Trampassagier-Auto 10





4
Trampassagier-Velo
8





4
Velo-Auto
10





0
Velo-Tramschiene
0





0


für RollstuhlfahrerInnen nicht praktikabel
9





1


Konfrontationen Bilanz:
37





9



















+ kein Stop bei Tram für Velos
+






+ Temporeduktion der Autos auf Schienen
+






10. Untauglicher Umbau einer Inseltramhaltestelle zu einer Tramhaltestelle mit angehobener Auto- und Velofahrbahn mit Lichtsignalanlage (LSA)

Beispiele: Tramhaltestellen Riehenring und Musical Theater, Basel, beide bis heute ohne Fussgängerstreifen.

Wieso soll man denn Fussgängerstreifen hinmalen, wenn der Lohn auch ohne Fussgängerstreifen stimmt?

Tramstation




















                                                          mit
                                                          angehobener
                                                          Autofahrbahn
                                                          und
                                                          Velofahrbahn
                                                          mit LSA. Die
                                                          Autos drängen
                                                          die Velos
                                                          immer an den
                                                          Rand, und die
                                                          Autos drohen
                                                          immer, von der
                                                          Fahrbahn zu
                                                          fallen.
Tramstation mit angehobener Autofahrbahn und Velofahrbahn mit LSA. Die Autos drängen die Velos immer an den Rand, und die Autos drohen immer, von der Fahrbahn zu fallen. So lange der Lohn stimmt, wird das dumme Baudepartement Basel an diesen üblen Zuständen aber nichts ändern...

Alter Zustand (Konfrontationen, Stufen 1-10):

Trampassagier - Auto: 10: Trampassagiere müssen Strassenfahrbahn überqueren, um zum Tram zu gelangen

Trampassagier - Velo: 8: Trampassagiere und Velos konfrontieren sich auf der Strassenfahrbahn, Velos werden durch Autos gleichzeitig bedrängt, haben nur beschränkten  Platz zum Ausweichen

Velo - Auto: 10: volle Konfrontation auf eingeschränkter Fahrbahn

für RollstuhlfahrerInnen kaum praktikabel: 9: RollstuhlfahrerInnen müssen die Fahrbahn überqueren und werden auf der Traminseln durch Bänke oder andere montierte Gegenstände blockiert.
Umbau: Verbesserungen und Verschlechterungen (Konfrontationen, Stufen 1-10):

Trampassagier - Auto: 10:
- die AutofahrerInnen gewöhnen sich an die Fahrbahnerhöhung und fahren gleich schnell, wie wenn keine Erhöhung da wäre
- es gibt Autos, die durch Rot fahren und noch zwischen dem haltenden Tram und den Trampassagieren gefährlich durchrasen, tödliche Gefahr für die Trampassagiere
- die Gefahr, dass ein Auto von der Fahrbahn abkommt und in die wartenden Trampassagiere gerät, ist auch bei einer Kante von 2cm relativ gross
- aussteigende Trampassagiere müssen 4m laufen, um aufs richtige Trottoir zu gelangen
- aussteigende Trampassagiere, die auf die gegenüberliegende Strassenseite wollen, möchten direkt die Strasse überqueren, und wenn dort kein Fussgängerstreifen vorhanden ist, bleiben die Fussgänger in der Strassenmitte mit einer gegenüberliegenden Kolonne konfrontiert, die Grün hat
- v.a. Kinder möchten nicht zuerst 4m laufen, um aufs "richtige" Trottoir zu gelangen, um dann zum eventuell angebrachten Fussgängerstreifen zu laufen, und um dann noch einmal dieselbe Breite zu überqueren, so landen Kinder oft gefährlich zwischen zwei fahrenden Kolonnen

Trampassagier - Velo: 1: Velo stört wartende Trampassagiere nicht, denn die Kante von 2cm ist für die Velos eindeutig; das Velo wird durch die Schwelle angehalten, langsamer zu fahren
Velos können auf der breiten Fahrbahnfläche gut den Trampassagieren oder Kindern ausweichen, die auf der Fahrbahn bleiben oder auf die Fahrbahn treten

Velo - Auto: 10: AutofahrerInnen haben Angst, von der Kante zu fallen und drängen in die Mitte der Fahrbahn, gefährden dabei VelofahrerInnen

für RollstuhlfahrerInnen praktikabel: 0: stufenloser Zugang zur Tramstation mit Trottoirkante vorhanden

Autos werden beschädigt: 10:
- die Schwellen sind weder markiert noch angekündigt
- AutofahrerInnen, die die Station nicht kennen, sehen die Schwelle nicht und fahren mit nur einer Seite schräg auf der erhöhten Fahrbahn
- AutofahrerInnen, die schräg auf der Fahrbahn fahren, wollen ganz auf die erhöhte Fahrbahn gelangen und schleifen so die Strassenkante mit ihren Reifen ab: die Kante wird von den Reifen schwarz gefärbt
- die Reifen werden beschädigt, die dann bei hoher Geschwindigkeit eventuell platzen können und tödliche Unfälle verursachen können

Negativpunkt: lange Fussgängerstreifen, falls vorhanden

Negativpunkt: Kosten für die Installation von zwei Lichtsignalanlagen LSA, die oft nicht  beachtet wird

Negativpunkt: Kosten für den Stromverbrauch von zwei Lichtsignalanlagen LSA

Negativpunkt: Stop des gesamten Verkehrs bei Tramhalt.

Tabelle: Bilanz des untauglichen Umbaus einer Inseltramhaltestelle zu einer Haltestelle mit angehobener Auto-Velo-Fahrbahn mit LSA
Vor dem Umbau

Nach dem Umbau


Untauglicher









                                                          Umbau einer
                                                          Inseltramhaltestelle
                                                          zu einer
                                                          Haltestelle
                                                          mit
                                                          angehobener
                                                          Auto-Velo-Fahrbahn
                                                          mit LSA
Anzahl Trottoireinheiten total:
281
Anzahl Trottoireinheiten total:
429
+ 52,7%




ohne Velowege / ohne Radwege:
310
+ 10,3%

links
rechts


links
rechts



140,5
140,5


214,5
214,5






ohneVelowege
155
155


Konfrontationen (Stufen 0-10)






Trampassagier-Auto 10




10
Trampassagier-Velo
8




1
Velo-Auto
10




10


Velo-Tramschiene
0




0


für RollstuhlfahrerInnen nicht praktikabel
9




0






Autos werden beschädigt
10


Konfrontationen Bilanz:
37




31













+ kein Stop bei Tram
+

+ Stop bei Tram
-





+ lange Fussgängerstreifen (falls vorhanden)
-





+ Kosten der Installation der LSA
-





+ Stromverbrauch durch LSA
-




11. Untauglicher Umbau: Inseltramhaltestelle wird einseitig zu Kaphaltestelle - die Velos werden in die Tramschienen gejagt

z.B. Haltestelle Brombacherstrasse in Basel, so typisch für das dumme Baudepartement und die IG-Velo Basel, die immer gerne zwischen den Schienen herumrast. Wo sollen dann langsame und mittlere VelofahrerInnen fahren?

Umbau
                                                          einer
                                                          Tramstation
                                                          einseitig in
                                                          eine
                                                          Kaphaltestelle,
                                                          die Velos /
                                                          Fahrräder
                                                          werden in die
                                                          Schienen
                                                          gejagt
Umbau einer Tramstation einseitig in eine Kaphaltestelle, die Velos / Fahrräder werden in die Schienen gejagt.
Eintrag der Bäume: 28.6.2003

Alter Zustand (Konfrontationen, Stufen 1-10):

Trampassagier - Auto: 10: Trampassagiere müssen Strassenfahrbahn überqueren, um zum Tram zu gelangen

Trampassagier - Velo: 8: Trampassagiere und Velos konfrontieren sich auf der Strassenfahrbahn, Velos werden durch Autos gleichzeitig bedrängt, haben nur beschränkten Platz zum Ausweichen

Velo - Auto: 10: volle Konfrontation auf eingeschränkter Fahrbahn

für RollstuhlfahrerInnen kaum praktikabel: 9: RollstuhlfahrerInnen müssen die Fahrbahn überqueren und werden auf der Traminseln durch Bänke oder andere montierte Gegenstände blockiert
Umbau: Verbesserungen und Verschlechterungen (Konfrontationen, Stufen 1-10):

Trampassagier - Auto:
links: 10: Trampassagiere müssen Strassenfahrbahn überqueren, um zum Tram zu gelangen
rechts: 0: Autos müssen über die Tramschienen fahren

Trampassagier - Velo:
links: 8: Trampassagiere und Velos konfrontieren sich auf der Strassenfahrbahn, Velos werden durch Autos gleichzeitig bedrängt, haben nur beschränkten Platz zum Ausweichen
rechts: 9: falls ein Fussgänger auf die Fahrbahn tritt, ist der Velofahrer durch die Tramschienen extrem gefährdet

Velo - Auto:
links und rechts 10: volle Konfrontation auf eingeschränkter Fahrbahn, rechts zusätzlich noch mit Gefährdung durch Tramschienen

Velo - Tramschiene:
links: 0
rechts: 9: falls nur eine Kleinigkeit passiert, ist sind die VelofahrerInnen durch die Tramschienen extrem gefährdet.

für RollstuhlfahrerInnen praktikabel:
links: 9: RollstuhlfahrerInnen müssen die Fahrbahn überqueren und werden auf der Traminseln durch Bänke oder andere montierte Gegenstände blockiert
rechts: 0: stufenloser Zugang zur Tramstation mit Trottoirkante vorhanden

Temporeduktion von Autos auf Schienen:
links: - rechts: +

kürzere Fussgängerstreifen:
links: - rechts: +: weil Tram, Autos und Velos dieselbe Fahrspur benutzen

 Stop bei Tram:
links: kein rechts: Stop des gesamten Verkehrs

Tabelle: Bilanz des einseitigen, untauglichen Umbaus einer Inseltramhaltestelle zu einer Kaphaltestelle - Velos werden in die Tramschienen gejagt
Vor dem Umbau

Nach dem Umbau


Untauglicher









                                                          einseitiger
                                                          Umbau einer
                                                          Inseltramhaltestelle
                                                          zu einer
                                                          einseitigen
                                                          Kaphaltestelle,
                                                          Velos werden
                                                          in die
                                                          Tramschienen
                                                          gejagt
Anzahl Trottoireinheiten total:
281
Anzahl Trottoireinheiten total:
355
+ 26,5%




ohne Velowege:
315
+ 12,1%

links
rechts


links
rechts



140,5
140,5


140,5
215











Konfrontationen (Stufen 0-10)




links
rechts
Trampassagier-Auto 10



10
0
Trampassagier-Velo
8



8
9
Velo-Auto
10



10
10
Velo-Tramschiene
0



0
9
für RollstuhlfahrerInnen nicht praktikabel
9



nein:9
ja: 0


Konfrontationen Bilanz:
37



37
28


















+ Stop bei Tram
-





+ Temporeduktion der Autos auf den Tramschienen
+





+ Autos jagen Velos zwischen den Schienen
-





+ Bäume haben mehr Platz als Velos / Fahrräder
-





12. Untauglicher Umbau: Einseitiger Umbau einer Inseltramhaltestelle in eine Kaphaltestelle in einer Kurve - Velos in die Tramschienen gejagt

Beispiel: Tramhaltestelle St.Johann-Tor, Basel

Umbau
                                                          einer
                                                          Inseltramstation
                                                          in eine
                                                          Kaphaltestelle
                                                          in einer
                                                          Kurve, die
                                                          Velos /
                                                          Fahrräder
                                                          werden in die
                                                          Tramschienen
                                                          gejagt.
                                                          Beispiel:
                                                          Basel, Station
                                                          St.Johann-Tor
Umbau einer Inseltramstation in eine Kaphaltestelle in einer Kurve, die Velos / Fahrräder werden in die Tramschienen gejagt.
Beispiel: Basel, Station St.Johann-Tor.

Alter Zustand (Konfrontationen, Stufen 1-10):

Trampassagier - Auto: 10: Trampassagiere müssen Strassenfahrbahn überqueren, um zum Tram zu gelangen

Trampassagier - Velo: 8: Trampassagiere und Velos konfrontieren sich auf der Strassenfahrbahn, Velos werden durch Autos gleichzeitig bedrängt, haben nur beschränkten Platz zum Ausweichen

Velo - Auto: 10: volle Konfrontation auf eingeschränkter Fahrbahn

für RollstuhlfahrerInnen kaum praktikabel: 9: RollstuhlfahrerInnen müssen die Fahrbahn überqueren und werden auf der Traminseln durch Bänke oder andere montierte Gegenstände blockiert.
Umbau: Verbesserungen und Verschlechterungen (Konfrontationen, Stufen 1-10):

Trampassagier - Auto:
rechts: 0: Autos müssen über die Tramschienen fahren

Trampassagier - Velo:
rechts: 9: falls ein Fussgänger auf die Fahrbahn tritt, ist der Velofahrer durch die Tramschienen extrem gefährdet; die Gefahr erhöht sich, weil die Tramhaltestelle in einer Kurve liegt.

Velo - Auto:
rechts 10: volle Konfrontation auf eingeschränkter Fahrbahn, rechts zusätzlich noch mit Gefährdung durch Tramschienen. Die Gefahr erhöht sich, weil die Tramhaltestelle in einer Kurve liegt.

Velo - Tramschiene:
rechts 10: falls nur eine Kleinigkeit passiert, werden die VelofahrerInnen durch die Tramschienen extrem gefährdet; die Gefahr erhöht sich, weil die Tramhaltestelle in einer Kurve liegt.

für RollstuhlfahrerInnen praktikabel:
rechts: 0: stufenloser Zugang zur Tramstation mit Trottoirkante vorhanden


Temporeduktion von Autos auf Schienen:
rechts: +

Stop bei Tram:
rechts: - : Stop des gesamten Verkehrs bei Tram.

Tabelle: Bilanz des einseitigen Umbaus einer Inseltramhaltestelle in eine Kaphaltestelle in Kurve - Velos in die Tramschienen gejagt
Vor dem Umbau

Nach dem Umbau


Untauglicher









                                                          einseitiger
                                                          Umbau einer
                                                          Inseltramhaltestelle
                                                          in eine
                                                          Kaphaltestelle,
                                                          die Velos /
                                                          Fahrräder
                                                          werden in die
                                                          Tramschienen
                                                          gejagt
Anzahl Trottoireinheiten rechts:
178
Anzahl Trottoireinheiten rechts:
353,5
+ 99%









Konfrontationen (Stufen 0-10)






Trampassagier-Auto 10




0
Trampassagier-Velo
8




9
Velo-Auto
10




10
Velo-Tramschiene
0




10
für RollstuhlfahrerInnen nicht praktikabel
9




0


Konfrontationen Bilanz:
37




29













+ kein Stop bei Tram
+

+ Stop bei Tram
-






+ Temporeduktion der Autos auf Schienen
+






+ Autos jagen Velos zwischen den Schienen
-


Das Baudepartement Basel kam dann sogar auf die Idee, den neuen Fussgängerraum bei der Tramstation mit neuen Blumenbeeten einzuengen bzw. zu "verschönern". Velofeindlicher kann man eine Verkehrspolitik wirklich nicht mehr gestalten. Aber so lange der Lohn in Basel stimmt, wird an der velofeindlichen Politik in Basel in Sachen Tramstationen nichts geändert...

2.Teil
Tramstationen im Umbau zu einer Fussgängerzone

F1. Umbau einer Tramhaltestelle in einer Strasse, die Fussgängerzone wird: Trams nach links verschoben, alles Trottoirniveau, Zweirichtungsveloweg hinter der Tramstation hindurch (in Deutschland Realität)

Dieser Vorschlag wurde dem Baudepartement Basel vor dem Umbau der Clarastrasse gemacht. Das dumme Baudepartement und die dumme IG-Velo glaubten nicht an die Zweckmässigkeit eines Zweirichtungsvelowegs, wie er in der Welt schon oft existiert.

Vorschlag
                                                          eines Umbaus
                                                          einer
                                                          Tramstation,
                                                          die nachher
                                                          zur
                                                          Fussgängerzone
                                                          wird, mit
                                                          Zweirichtungs-Veloweg
                                                          an einer Seite
                                                          hinter dem
                                                          Tramhäuschen
                                                          hindurch
Vorschlag eines Umbaus einer Tramstation, die nachher zur Fussgängerzone wird,
mit Zweirichtungs-Veloweg an einer Seite hinter dem Tramhäuschen hindurch.

Alter Zustand (Konfrontationen, Stufen 1-10):

Trampassagier - Auto: 5: Auto kann sich zwischen Tram und Trottoir drängen

Trampassagier - Velo: 5: Velo kann sich zwischen Tram und Trottoir drängen

Velo - Auto: 3: genug Platz für Abstand von Trottoirkante und Überholmanöver, deshalb nur geringes Risiko

für RollstuhlfahrerInnen nicht praktikabel: 10: keine Trottoirkante für den Einstieg ins Tram da


Negativpunkt: lange Fussgängerstreifen, falls überhaupt vorhanden

Negativpunkt: Stop des ganzen Verkehrs bei Tram.
Umbau: Verbesserungen und Verschlechterungen (Konfrontationen, Stufen 1-10):

Trampassagier - Auto: 0: keine Autos mehr vorhanden

Trampassagier - Velo:
links: 0: keine VelofahrerInnen vorhanden

rechts: 2: breiter Zweirichtungs-Veloweg vorhanden, mit Tramhäuschen und eventuell mit Bänken, Blumenkübel oder Kübeln sichtbar abgegrenzt; Pfosten leiten die VelofahrerInnen, wo sie durchzufahren haben; Belag hält VelofahrerInnen zum langsamer fahren an, darf aber kein "Holperbelag" sein; eventuell spezielle Belagfarbe, dann sind keine Längsmarkierungen nötig; Platz zum Ausweichen ist genug da, das Unfallrisiko Velo - Fussgänger ist sehr klein. Der Gegenverkehr der Velos zwingt diese zum langsam fahren.

Velo - Auto: 0: keine Autos mehr vorhanden

für RollstuhlfahrerInnen praktikabel: 0: stufenloser Zugang zur Tramhaltestelle mit Trottoirkante

Pluspunkt: Velos zirkulieren unabhängig vom Tramverkehr.
Tabelle: Bilanz des Umbaus einer Inseltramhaltestelle zu einer Haltestelle in Fussgängerzone mit Zweirichtungsveloweg an einer Seite hinter dem Tramhäuschen hindurch
Vor dem Umbau

Nach dem Umbau


Tramstation









                                                          in
                                                          Fussgängerzone
                                                          mit
                                                          Zweirichtungsveloweg
                                                          hinter dem
                                                          Tramhäuschen
                                                          hindurch
Anzahl Trottoireinheiten total:
186
Anzahl Trottoireinheiten total:
445,5
+ 140%




ohne Velowege / ohne Radwege:
352,5
+ 101%

links
rechts


links
rechts



93
93


129 (+ 35%)
316,5 (+240%)






ohne Velowege
223,5 (+140%)


Konfrontationen (Stufen 0-10)




links
rechts
Trampassagier-Auto 5



0
0
Trampassagier-Velo
5



0
2


Velo-Auto
3



0
0


Velo-Tramschiene
0



0
0


für RollstuhlfahrerInnen nicht praktikabel
10



0
0







Autos werden beschädigt
10


Konfrontationen Bilanz:
37



0
2
















+ Velos zirkulieren unabhängig vom Tramverkehr
+






F2. Umbau einer Tramhaltestelle in einer Strasse, die Fussgängerzone wird: Keine Trottoirs, angehobene Haltestelle, Zweirichtungsveloweg hinter der Tramstation hindurch (Vorschlag Palomino)

Diese Version der Gestaltung der Fussgängerzone ist noch nicht verwirklicht. Durch die Erhöhung des Wartebereichs gehen nur diejenigen Personen in den Wartebereich der Tramstation, die wirklich müssen.

Tramstation




















                                                          in
                                                          Fussgängerzonge
                                                          mit
                                                          angehobenem
                                                          Niveau, mit
                                                          Zweirichtungs-Veloweg
                                                          an einer Seite
                                                          hinter dem
                                                          Tramhäuschen
                                                          hindurch
Tramstation in Fussgängerzone mit angehobenem Niveau, mit Zweirichtungs-Veloweg an einer Seite hinter dem Tramhäuschen hindurch.
Alter Zustand (Konfrontationen, Stufen 1-10):

Trampassagier - Auto: 5: Auto kann sich zwischen Tram und Trottoir drängen

Trampassagier - Velo: 5: Velo kann sich zwischen Tram und Trottoir drängen

Velo - Auto: 3: genug Platz für Abstand von Trottoirkante und Überholmanöver, deshalb nur geringes Risiko

für RollstuhlfahrerInnen nicht praktikabel: 10: keine Trottoirkante für den Einstieg ins Tram da
 

Negativpunkt: lange Fussgängerstreifen, falls überhaupt vorhanden

Negativpunkt: Stop des ganzen Verkehrs bei Tram
Umbau: Verbesserungen und Verschlechterungen (Konfrontationen, Stufen 1-10):

Trampassagier - Auto: 0: keine Autos mehr vorhanden

Trampassagier - Velo:
links: 0: keine VelofahrerInnen vorhanden
rechts: 2: breiter Zweirichtungs-Veloweg vorhanden, mit Tramhäuschen und eventuell mit Bänken, Blumenkübel oder Kübeln sichtbar abgegrenzt; Pfosten leiten die VelofahrerInnen, wo sie durchzufahren haben; Belag hält VelofahrerInnen zum langsamer fahren an, darf aber kein "Holperbelag" sein; eventuell spezielle Belagfarbe, dann sind keine Längsmarkierungen nötig; Platz zum Ausweichen ist genug da, das Unfallrisiko Velo - Fussgänger ist sehr klein. Der Gegenverkehr der Velos zwingt diese zum langsam fahren.

Velo - Auto: 0: keine Autos mehr vorhanden

für RollstuhlfahrerInnen praktikabel:
links: 0: breite Schwellen als Zugang zur Haltestelle mit Trottoirkante
rechts: 2: Schwellen als Zugang zur Haltestelle mit Trottoirkante sind unbequem, aber dafür ist die ganze Fussgängerzone ohne Stufen.

Pluspunkt: Velos zirkulieren unabhängig vom Tramverkehr.

Mega-Pluspunkt: Die stufenlose Fussgängerzone ausserhalb der Tramhaltestellen ermöglicht für die FussgängerInnen, für Anlieferverkehr und VelofahrerInnen, aber auch für Festveranstaltungen oder Umzüge maximale Flexibilität.
g
Tabelle: Bilanz des Umbaus einer Inseltramhaltestelle zu einer Haltestelle in Fussgängerzone mit angehobenem Wartebereich und Zweirichtungsveloweg an einer Seite hinter dem Tramhäuschen hindurch
Vor dem Umbau

Nach dem Umbau


Umbau
                                                          einer
                                                          Inseltramhaltestelle
                                                          zu einer
                                                          Haltestelle in
                                                          Fussgängerzone
                                                          mit
                                                          angehobenem
                                                          Wartebereich
                                                          und
                                                          Zweirichtungsveloweg
                                                          an einer Seite
                                                          hinter dem
                                                          Tramhäuschen
                                                          hindurch
Anzahl Trottoireinheiten total:
186
Anzahl Trottoireinheiten total:
454
+ 144%




ohne Velowege / ohne Radwege:
361
+ 94%

links
rechts


links
rechts



93
93


134 (+44%)
320 (+244%)






ohne Velowege:
227 (+144%)


Konfrontationen (Stufen 0-10)




links
rechts
Trampassagier-Auto 5



0
0
Trampassagier-Velo
5



0
2


Velo-Auto
3



0
0


Velo-Tramschiene
0



0
0


für RollstuhlfahrerInnen nicht praktikabel
10



0
2


Konfrontationen Bilanz:
23



0
4


















+ Velos zirkulieren unabhängig vom Tramverkehr
+





F3. Umbau einer Tramhaltestelle in einer Strasse, die Fussgängerzone wird: Alles Trottoir, zwei Velowege hinter den zwei Tramhäuschen hinten durch (in Deutschland Realität)

Auch dieser Vorschlag wurde vor dem  Umbau der Clarastrasse beim dummen Tiefbauamt Basel eingegeben. Das dumme Tiefbauamt und die dumme IG-Velo lehnten den Vorschlag ab, mit dem Argument, es würden dann den VelofahrerInnen Fussgänger im Weg stehen. So lange der Lohn stimmt, wird sich in Basel auch nichts an der velofeindlichen Praxis ändern...

Tramhaltestelle



















                                                          in
                                                          Fussgängerzone
                                                          mit zwei
                                                          Velowegen
                                                          hinter den
                                                          Tramhäuschen
                                                          hindurch
Tramhaltestelle in Fussgängerzone mit zwei Velowegen hinter den Tramhäuschen hindurch.

Alter Zustand (Konfrontationen, Stufen 1-10):

Trampassagier - Auto: 5: Auto kann sich zwischen Tram und Trottoir drängen

Trampassagier - Velo: 5: Velo kann sich zwischen Tram und Trottoir drängen

Velo - Auto: 3: genug Platz für Abstand von Trottoirkante und Überholmanöver, deshalb nur geringes Risiko

für RollstuhlfahrerInnen nicht praktikabel: 10: keine Trottoirkante für den Einstieg ins Tram da
 

Negativpunkt: lange Fussgängerstreifen, falls überhaupt vorhanden

Negativpunkt: Stop des ganzen Verkehrs bei Tram.
Umbau: Verbesserungen und Verschlechterungen (Konfrontationen, Stufen 1-10):

Trampassagier - Auto: 0: keine Autos mehr vorhanden

Trampassagier - Velo: 2: breite Velowege vorhanden, mit Tramhäuschen und eventuell mit Bänken, Blumenkübel oder Kübeln sichtbar abgegrenzt; Pfosten leiten die VelofahrerInnen, wo sie durchzufahren haben; Belag hält VelofahrerInnen zum langsamer fahren an, darf aber kein "Holperbelag" sein; eventuell spezielle Belagfarbe, dann sind keine Längsmarkierungen nötig; Platz zum Ausweichen ist genug da, das Unfallrisiko Velo - Fussgänger ist sehr klein.

Velo - Auto: 0: keine Autos mehr vorhanden

für RollstuhlfahrerInnen praktikabel: 0: stufenloser Zugang zur Tramhaltestelle mit Trottoirkante

Pluspunkt: Velos zirkulieren unabhängig vom Tramverkehr.

Tabelle: Bilanz des Umbaus einer Tramhaltestelle in eine Fussgängerzone mit zwei Velowegen hinter den Tramhäuschen hindurch
Vor dem Umbau

Nach dem Umbau


Umbau
                                                          einer
                                                          Tramstation in
                                                          eine
                                                          Fussgängerzone
                                                          mit zwei
                                                          Velowegen
                                                          hinter den
                                                          Tramhäuschen
                                                          hindurch
Anzahl Trottoireinheiten total:
186
Anzahl Trottoireinheiten total:
402
+ 116%




ohne Velowege:
298
+ 60%

links
rechts


links
rechts



93
93


201
201

+ 116%




ohne Velowege:
149
149

+ 60%









Konfrontationen (Stufen 0-10)






Trampassagier-Auto 5




0
Trampassagier-Velo
5




2


Velo-Auto
3




0


Velo-Tramschiene
0




0


für RollstuhlfahrerInnen nicht praktikabel
10




0


Konfrontationen Bilanz:
37




2
















+ Velos zirkulieren unabhängig vom Tramverkehr
+





F3+. Umbau einer Tramhaltestelle in einer Strasse, die Fussgängerzone wird: Alles Trottoir, Anhebung des Passagierwarteraums und Absenkung des Tramniveaus gleichzeitig, zwei Velowege hinter den zwei Tramhäuschen hinten durch (Vorschlag Palomino)

Dieser Vorschlag wurde nachträglich entworfen. Die Schwelle für die Passagiere auf ein erhöhtes Niveau wird erheblich gemildert, denn das Tram senkt sein Niveau im Haltestellenbereich.

Tramstation




















                                                          in
                                                          Fussgängerzone
                                                          mit Anhebung
                                                          des Warteraums
                                                          und
                                                          gleichzeitiger
                                                          Absenkung des
                                                          Tramniveaus,
                                                          mit zwei
                                                          Velowegen
                                                          hinter den
                                                          Tramhäuschen
                                                          hindurch
Tramstation in Fussgängerzone mit Anhebung des Warteraums und gleichzeitiger Absenkung des Tramniveaus,
mit zwei Velowegen hinter den Tramhäuschen hindurch.

Alter Zustand (Konfrontationen, Stufen 1-10):

Trampassagier - Auto: 5: Auto kann sich zwischen Tram und Trottoir drängen

Trampassagier - Velo: 5: Velo kann sich zwischen Tram und Trottoir drängen

Velo - Auto: 3: genug Platz für Abstand von Trottoirkante und Überholmanöver, deshalb nur geringes Risiko

für RollstuhlfahrerInnen nicht praktikabel: 10: keine Trottoirkante für den Einstieg ins Tram da
 

Negativpunkt: lange Fussgängerstreifen, falls überhaupt vorhanden

Negativpunkt: Stop des ganzen Verkehrs bei Tram.
Umbau: Verbesserungen und Verschlechterungen (Konfrontationen, Stufen 1-10):

Trampassagier - Auto: 0: keine Autos mehr vorhanden

Trampassagier - Velo: 2: breite Velowege vorhanden, mit Tramhäuschen und eventuell mit Bänken, Blumenkübel oder Kübeln sichtbar abgegrenzt; Pfosten leiten die VelofahrerInnen, wo sie durchzufahren haben; Belag hält VelofahrerInnen zum langsamer fahren an, darf aber kein "Holperbelag" sein; eventuell spezielle Belagfarbe, dann sind keine Längsmarkierungen nötig; Platz zum Ausweichen ist genug da, das Unfallrisiko Velo - Fussgänger ist sehr klein.

Velo - Auto: 0: keine Autos mehr vorhanden

für RollstuhlfahrerInnen praktikabel: 0: stufenloser Zugang zur Tramhaltestelle mit Trottoirkante

Pluspunkt: stufenlose und schwellenlose Höhenniveauverschiebungen zwischen Tramtrasse und Fussgänger-/Velotrasse

Pluspunkt: Velos zirkulieren unabhängig vom Tramverkehr.

Mega-Pluspunkt: Die stufenlose Fussgängerzone ausserhalb der Tramhaltestellen ermöglicht für die FussgängerInnen, für Anlieferverkehr und VelofahrerInnen, aber auch für Festveranstaltungen oder Umzüge maximale Flexibilität.

Tabelle: Umbau einer Tramhaltestelle für eine Fussgängerzone mit angehobenem Niveau des Passagier-Warteraums und abgesenktem Tramniveau, mit zwei Velowegen / Fahrradwegen hinter den Tramhäuschen hindurch
Vor dem Umbau

Nach dem Umbau



Bau einer
                                                          Tramstation in
                                                          Fussgängerzone
                                                          mit
                                                          angehobenem
                                                          Niveau für die
                                                          wartenden
                                                          Passagiere und
                                                          gesenktem
                                                          Tramniveau,
                                                          Velowege
                                                          hinter den
                                                          Tramhäuschen
                                                          hindurch
Anzahl Trottoireinheiten total:
186
Anzahl Trottoireinheiten total:

438
+ 135%




ohne Velowege / ohne Radwege:

334
+ 80%

links
rechts


links
rechts




93
93


219
219


+ 135%




ohneVelowege
167
167


+ 80%










Konfrontationen (Stufen 0-10)







Trampassagier-Auto 5





0
Trampassagier-Velo
5





2


Velo-Auto
3





0


Velo-Tramschiene
0





0


für RollstuhlfahrerInnen nicht praktikabel
10





0


Konfrontationen Bilanz:
23





2

















+ Velos zirkulieren unabhängig vom Tramverkehr
+





F4. Umbau einer Tramhaltestelle in einer Strasse, die Fussgängerzone wird: Tramtrasse im Zentrum, Velos mit erhöhten Velowegen vor den Trampassagieren hindurch (Vorschlag Palomino)

Dieser Vorschlag ist die logische Kombination für enge Fussgängerzonen: Die Velos fahren auf einer Zickzacklinie vor den wartenden Trampassagieren ungestört hindurch. Stop bei Tram. Das dumme Basler Tiefbauamt und die dumme IG-Velo verweigern bis heute (2006) die Realisierung einer solchen praktischen Tramstation mit Velodurchlass trotz einer gleichlautenden Petition von 2002. So lange der Lohn stimmt, muss man doch nichts ändern...

Tramstation




















                                                          in
                                                          Fussgängerzonge,
                                                          angehobene
                                                          Velowege auf
                                                          Zickzacklinie
                                                          führen
                                                          ungestört vor
                                                          den
                                                          Trampassagieren
                                                          hindurch. Stop
                                                          bei Tram
Tramstation in Fussgängerzone, angehobene Velowege auf Zickzacklinie führen ungestört vor den Trampassagieren hindurch. Stop bei Tram.

Eintrag der Zickzacklinie: 6.3.2003.

Alter Zustand (Konfrontationen, Stufen 1-10):

Trampassagier - Auto: 5: Auto kann sich zwischen Tram und Trottoir drängen

Trampassagier - Velo: 5: Velo kann sich zwischen Tram und Trottoir drängen

Velo - Auto: 3: genug Platz für Abstand von Trottoirkante und Überholmanöver, deshalb nur geringes Risiko
 
für RollstuhlfahrerInnen nicht praktikabel: 10: keine Trottoirkante für den Einstieg ins Tram da


Negativpunkt: lange Fussgängerstreifen, falls überhaupt vorhanden

Negativpunkt: Stop des ganzen Verkehrs bei Tram
Umbau: Verbesserungen und Verschlechterungen (Konfrontationen, Stufen 1-10):

Trampassagier - Auto: 0: keine Autos mehr vorhanden

Trampassagier - Velo: 1: Velos zirkulieren am äussersten Rand der Fussgängerzone zum Tramgleis hin. Schwellen bremsen VelofahrerInnen ab.

Velo - Auto: 0: keine Autos mehr vorhanden

für RollstuhlfahrerInnen praktikabel: 0: stufenloser Zugang zur Tramhaltestelle mit Trottoirkante


Negativpunkt: Stop des gesamten Verkehrs bei Tram.

Tabelle: Umbau einer Tramhaltestelle in einer Fussgängerzone, angehobene Velowege führen vor den wartenden Trampassagieren hindurch. Stop bei Tram
Vor dem Umbau

Nach dem Umbau


Bau einer
                                                          Tramstation in
                                                          einer
                                                          Fussgängerzone
                                                          mit
                                                          angehobenen
                                                          Velowegen mit
                                                          Zickzacklinie
                                                          vor den
                                                          wartenden
                                                          Trampassagieren
                                                          durch, Stop
                                                          bei Tram
Anzahl Trottoireinheiten total:
186
Anzahl Trottoireinheiten total:
412
+ 122%




ohne Velowege / ohne Radwege:
349
+ 88%

links
rechts


links
rechts



93
93


206
206

+ 122%




ohne Velowege:
174,5
174,5

+ 88%









Konfrontationen (Stufen 0-10)






Trampassagier-Auto 5




0
Trampassagier-Velo
5




2


Velo-Auto
3




0


Velo-Tramschiene
0




0


für RollstuhlfahrerInnen nicht praktikabel
10




0


Konfrontationen Bilanz:
23




2


















+ Stop bei Tram
-







F5. Untauglicher Umbau einer Tramhaltestelle in einer Strasse, die Fussgängerzone wird: Tramtrasse im Zentrum, Velos werden in die Tramschienen gejagt, Clarastrasse, Basel

Das dumme, velofeindliche Baudepartement der Stadt Basel realisierte in der Clarastrasse die schlechtestmögliche Variante zum Umbau der Tramstation und jagt dort bis heute die VelofahrerInnen zwischen die Tramschienen. Gleichzeitig werden 3m Breite des Trottoirs der Haltestelle von einem Ausseinausschank eines Restaurants in Anspruch genommen. So lange der Lohn stimmt, muss man daran doch nichts ändern.

Umbau
                                                          einer
                                                          Tramstation in
                                                          einer Strasse,
                                                          die
                                                          Fussgängerzone
                                                          wird: Die
                                                          Tramschienen
                                                          werden an den
                                                          Trottoirrand
                                                          der
                                                          Kaphaltestelle
                                                          verschwenkt,
                                                          die Velos /
                                                          Fahrräder
                                                          werden in die
                                                          Tramschienen
                                                          gejagt.
Umbau einer Tramstation in einer Strasse, die Fussgängerzone wird: Die Tramschienen werden an den Trottoirrand der Kaphaltestelle verschwenkt, und die Velos / Fahrräder werden in die Tramschienen gejagt.

Alter Zustand (Konfrontationen, Stufen 1-10):

Trampassagier - Auto: 5: Auto kann sich zwischen Tram und Trottoir drängen

Trampassagier - Velo: 5: Velo kann sich zwischen Tram und Trottoir drängen

Velo - Auto: 3: genug Platz für Abstand von Trottoirkante und Überholmanöver, deshalb nur geringes Risiko

 für RollstuhlfahrerInnen nicht praktikabel: 10: keine Trottoirkante für den Einstieg ins Tram da


Negativpunkt: lange Fussgängerstreifen, falls überhaupt vorhanden

Negativpunkt: Stop des ganzen Verkehrs bei Tram
Umbau: Verbesserungen und Verschlechterungen (Konfrontationen, Stufen 1-10):

Trampassagier - Auto: 0: keine Autos mehr vorhanden

Trampassagier - Velo: 9: falls nur eine Kleinigkeit passiert oder ein Fussgänger auf die Fahrbahn tritt, ist der Velofahrer durch die Tramschienen extrem gefährdet

Velo - Auto: 0: keine Autos mehr vorhanden

Velo - Tramschienen: 9: sobald eine Unregelmässigkeit auftritt, kann der Velofahrer kaum noch ausweichen, höchste Unfallgefahr durch Tramschienen

für RollstuhlfahrerInnen praktikabel: 0: stufenloser Zugang zur Tramstation mit Trottoirkante vorhanden


Negativpunkt: Stop des gesamten Verkehrs bei Tram

Tabelle: Bilanz des Umbaus einer Tramhaltestelle in eine Fussgängerzone - Velos / Fahrräder werden in die Tramschienen gejagt
Vor dem Umbau

Nach dem Umbau


Untauglicher









                                                          Umbau einer
                                                          Tramstation in
                                                          einer
                                                          Fussgängerzone
                                                          zu einer
                                                          Kaphaltestelle,
                                                          Schienen an
                                                          den
                                                          Trottoirrand
                                                          verschwenkt,
                                                          Velos werden
                                                          in die
                                                          Schienen
                                                          gejagt
Anzahl Trottoireinheiten total:
186
Anzahl Trottoireinheiten total:
434
+ 133%




ohne Velowege / ohne Radwege:
298
+ 60%

links
rechts


links
rechts



93
93


217
217

+ 133%




ohne Velowege
149
149

+ 60%
Konfrontationen (Stufen 0-10)






Trampassagier-Auto 5




0
Trampassagier-Velo
5




9
Velo-Auto
3




0


Velo-Tramschiene
0




9


für RollstuhlfahrerInnen nicht praktikabel
10




0


Konfrontationen Bilanz:
37




18













+ Stop bei Tram -

+ Stop bei Tram -





Nachwort

Eigentlich ist hier das Werk zu Ende.

Aber das Werk des dummen und velofeindlichen Baudepartements in Basel ist noch lange nicht zu Ende. Die kriminellen Umbauten von Tramstationen gegen Velofahrer und Velofahrerinnen nehmen bis heute in Basel KEIN Ende. So lange der Lohn stimmt, wird im dummen und velofeindlichen Baudepartement in Basel bei den Tramstationen auch nichts geändert. Man kann immer weniger sicher Velo fahren in Basel. Jede Tramstation wird zum Hindernis. Danke du dummes, velofeindliches Baudepartement! So bringt man die Veloqualität tatsächlich auf 0 herab!

Und die IG-Velo in Basel findet diese velofeindliche Politik auch noch gut und Vorstandsmitglied Kathrin Schweizer sagte mir am Telefon im Jahr 2006 wörtlich, ich können mit meinen Vorschlägen "nicht bestimmen, was die IG-Velo macht". Tatsächlich braucht es für velofreundliche Logik eine bestimmte geistige Kraft gegen die Nichtwisser im Baudepartement. Die IG-Velo schwimmt mit dem Baudepartement mit und entwickelt keine geistige Kraft gegen die Velofeinde im Baudepartement.

Ja, dann kann man in Basel immer weniger Velo fahren. Schade, die relativ flache Stadt wäre sehr geeignet.

Michael Palomino
2006
Teilen:

Facebook






^